Báo cáo đề xuất cấp GPMT nhà máy sản xuất thức ăn chăn nuôi dạng bột, viên

Báo cáo đề xuất cấp GPMT nhà máy sản xuất thức ăn chăn nuôi dạng bột, viên,...với quy mô 54.000 tấn sản phẩm/năm.

Ngày đăng: 24-10-2025

240 lượt xem

DANH MỤC CÁC TỪ VÀ CÁC KÝ HIỆU VIẾT TẮT....... v

DANH MỤC CÁC BẢNG................................................ vi

CHƯƠNG I. THÔNG TIN CHUNG VỀ DỰ ÁN ĐẦU TƯ..... 1

1.   Tên chủ dự án đầu tư..................................................... 1

2.   Tên dự án đầu tư...................................................... 1

2.1.   Địa điểm thực hiện dự án đầu tư..................................... 1

2.2.   Cơ quan thẩm định thiết kế xây dựng, cấp các loại giấy phép có liên quan đến môi trường của dự án đầu tư (nếu có):..... 1

2.3.   Quy mô của dự án đầu tư phân loại theo quy định tại Điều 25 Nghị định 08/2022/NĐ-CP (được sửa đổi bởi Nghị định 05/2025/NĐ-CP...... 1

3.   Công suất, công nghệ, sản phẩm của dự án đầu tư........... 2

3.1.   Công suất của dự án đầu tư.............................................. 2

3.2.   Công nghệ sản xuất của dự án đầu tư, đánh giá việc lựa chọn công nghệ sản xuất của dự án đầu tư...... 2

3.3.   Sản phẩm của dự án đầu tư............................ 5

4.   Nguyên liệu, nhiên liệu, vật liệu, phế liệu, điện năng, hóa chất sử dụng, nguồn cung cấp điện, nước của dự án đầu tư...... 5

4.1.   Nhu cầu nguyên, nhiên, vật liệu và hóa chất sử dụng.............. 5

4.2.   Nhu cầu sử dụng điện........................................................... 10

4.3.   Nhu cầu sử dụng nước.......................................................... 10

5.   Các thông tin khác liên quan đến dự án đầu tư (nếu có):................ 12

5.1.   Vị trí thực hiện dự án..................................................................... 12

5.2.   Hiện trạng quản lý, sử dụng đất, mặt nước của dự án..................... 13

5.3.   Tiến độ, vốn đầu tư, tổ chức quản lý và thực hiện dự án................. 14

CHƯƠNG II. SỰ PHÙ HỢP CỦA DỰ ÁN ĐẦU TƯ VỚI QUY HOẠCH, KHẢ NĂNG CHỊU TẢI CỦA MÔI TRƯỜNG..18

1.1.   Sự phù hợp của dự án đầu tư với các Quy hoạch BVMT và quy hoạch khác có liên quan........... 18

1.2.   Sự phù hợp của dự án với ngành nghề đầu tư và phân khu chức năng của khu sản xuất, kinh doanh, dịch vụ tập trung, cụm công nghiệp...... 18

2.   Sự phù hợp của dự án đầu tư đối với khả năng chịu tải của môi trường (nếu có):...19

CHƯƠNG III. ĐÁNH GIÁ HIỆN TRẠNG MÔI TRƯỜNG NƠI THỰC HIỆN DỰ ÁN ĐẦU TƯ......... 21

1.   Dữ liệu về hiện trạng môi trường và tài nguyên sinh vật.......................... 21

2.   Mô tả về môi trường tiếp nhận nước thải của dự án......................................... 21

3.   Đánh giá hiện trạng các thành phần môi trường đất, nước, không khí nơi thực hiện dự án...22

CHƯƠNG IV. ĐÁNH GIÁ, DỰ BÁO TÁC ĐỘNG MÔI TRƯỜNG CỦA DỰ ÁN ĐẦU TƯ VÀ ĐỀ XUẤT CÁC CÔNG TRÌNH, BIỆN PHÁP BẢO VỆ MÔI TRƯỜNG.... 23

4.1.  Đánh giá tác động và đề xuất các công trình, biện pháp bảo vệ môi trường trong giai đoạn xây dựng......... 23

4. 1.1. Đánh giá, dự báo các tác động............................................................... 24

4.   1.1.1. Đánh giá, dự báo tác động liên quan đến chất thải................................ 24

4.1.   1.2. Đánh giá, dự báo tác động không liên quan đến chất thải.............. 35

4.1.1.3.   Tác động do rủi ro sự cố...................................................................... 41

4.1.2.   Các công trình, biện pháp bảo vệ môi trường trong giai đoạn xây dựng........ 42

4.1.2.1.   Các biện pháp, công trình bảo vệ môi trường liên quan đến chất thải:.. 42

4.1.2.2.   Các biện pháp, công trình bảo vệ môi trường không liên quan đến chất thải:...46

4.2.   Đánh giá tác động và đề xuất các công trình, biện pháp bảo vệ môi trường trong giai đoạn dự án đi vào hoạt động...... 50

4.2.1.   Đánh giá, dự báo các tác động........................................................ 50

4.2.1.1.    Đánh giá, dự báo tác động liên quan đến chất thải...................... 50

4.2.1.2.    Đánh giá, dự báo tác động không liên quan đến chất thải............. 66

4.2.1.3.    Đánh giá, dự báo các tác động gây nên bởi các rủi ro, sự cố................ 68

4.2.2.   Các công trình, biện pháp bảo vệ môi trường trong giai đoạn hoạt động....... 71

4.2.2.1.    Các công trình, biện pháp bảo vệ môi trường liên quan đến chất thải........... 71

4.2.2.2.    Các công trình, biện pháp bảo vệ môi trường đề xuất không liên quan đến chất thải...... 90

4.2.2.3.   Các công trình, biện pháp bảo vệ môi trường đề xuất đối với các rủi ro, sự cố..92

4.3. Tổ chức thực hiện các công trình, biện pháp bảo vệ môi trường.................... 97

4.3.2.   Dự toán kinh phí thực hiện các công trình................................................ 97

4.3.3.   Tổ chức, bộ máy quản lý, vận hành các công trình bảo vệ môi trường....... 98

4.4.   Nhận xét về mức độ chi tiết và mức độ tin cậy của các kết quả dự báo........ 98

CHƯƠNG V. PHƯƠNG ÁN CẢI TẠO, PHỤC HỒI MÔI TRƯỜNG, PHƯƠNG ÁN BỒI HOÀN ĐA DẠNG SINH HỌC.... 99

CHƯƠNG VI. NỘI DUNG ĐỀ NGHỊ CẤP GIẤY PHÉP MÔI TRƯỜNG........ 100

6.1.   Nội dung đề nghị cấp phép đối với nước thải......................................... 100

6.2.   Nội dung đề nghị cấp phép đối với khí thải............................................... 100

6.2.1.  Nguồn phát sinh khí thải....................................................................... 100

6.2.2.     Dòng khí thải, vị trí xả khí thải:............................................................ 100

6.2.3.     Lưu lượng xả khí thải tối đa................................................................. 101

6.2.4.     Phương thức xả thải: Liên tục (24 giờ)................................................ 101

6.2.5.     Các chất ô nhiễm và giá trị giới hạn của các chất ô nhiễm theo dòng khí thải..101

6.3.   Nội dung đề nghị cấp phép đối với tiếng ồn, độ rung............................... 102

6.3.1.  Nguồn phát sinh:........................................................................................ 102

6.4.   Nội dung đề nghị cấp phép đối với chất thải rắn, chất thải nguy hại................ 103

6.4.1.     Đối với chất thải rắn................................................................................ 103

6.4.1.   Đối với chất thải nguy hại................................................................... 104

CHƯƠNG VII. KẾ HOẠCH VẬN HÀNH THỬ NGHIỆM CÔNG TRÌNH XỬ LÝ CHẤT THẢI VÀ CHƯƠNG TRÌNH QUAN TRẮC MÔI TRƯỜNG CỦA DỰ ÁN.......106

7.1. Kế hoạch vận hành thử nghiệm công trình xử lý chất thải của dự án đầu tư.......... 106

7.1.1.  Thời gian dự kiến vận hành thử nghiệm.................................................................. 106

7.1.2.     Kế hoạch quan trắc chất thải, đánh giá hiệu quả xử lý của các công trình, thiết bị xử lý chất thải....... 107

5.   Chương trình quan trắc chất thải (tự động, liên tục và định kỳ) theo quy định của pháp luật...... 109

5.1.   Chương trình quan trắc tự động, liên tục...................................................... 109

5.2.   Chương trình quan trắc môi trường định kỳ.......................................... 109

5.3.   Kinh phí thực hiện quan trắc môi trường hằng năm.............................. 110

CHƯƠNG VIII. CAM KẾT CỦA CHỦ DỰ ÁN ĐẦU TƯ.......................... 111

CHƯƠNG I. THÔNG TIN CHUNG VỀ DỰ ÁN ĐẦU TƯ

1.Tên chủ dự án đầu tư

Công ty cổ phần .............

- Địa chỉ trụ sở chính: Khu công nghiệp Đồng Văn I mở rộng, phường Đồng Văn, tỉnh Ninh Bình

- Người đại diện theo pháp luật: .........; Chức vụ: Tổng giám đốc

- Điện thoại: ........

- Mã số thuế: .......

- Giấy chứng nhận đăng ký doanh nghiệp số ........ do Phòng doanh nghiệp thuộc Sở Tài chính tỉnh Ninh Bình cấp đăng ký lần đầu ngày 19 tháng 7 năm 2025 .

- Giấy chứng nhận đăng ký đầu tư mã số dự án: ....... do Ban Quản lý Các khu công nghiệp tỉnh Hà Nam chứng nhận lần đầu: ngày 17 tháng 6 năm 2025.

2.Tên dự án đầu tư

Dự án “Nhà máy thức ăn chăn nuôi ” (sau đây gọi tắt là Dự án)

2.1. Địa điểm thực hiện dự án đầu tư:

Khu công nghiệp Đồng Văn I mở rộng, phường Đồng Văn, tỉnh Ninh Bình.

2.2.Cơ quan thẩm định thiết kế xây dựng, cấp các loại giấy phép có liên quan đến môi trường của dự án đầu tư (nếu có):

- Cơ quan cấp Giấy chứng nhận đầu tư: Ban Quản lý các Các khu công nghiệp tỉnh Hà Nam.

- Hợp đồng thuê lại đất gắn liền với kết cấu hạ tầng số 2107/2025/KCN/PLASCHEM-NIPPON ngày 21/07/2025 giữa Công ty TNHH Đầu tư và Phát triển Khu công nghiệp Plaschem Hà Nam và Công ty cổ phần .....

2.3.Quy mô của dự án đầu tư phân loại theo quy định tại Điều 25 Nghị định 08/2022/NĐ-CP (được sửa đổi bởi Nghị định 05/2025/NĐ-CP:

Quy mô của Dự án phân loại theo tiêu chí quy định của pháp luật về đầu tư công Dự án có tổng vốn đầu tư là 120.000.000.000 (Một trăm hai mươi tỷ đồng) thuộc lĩnh vực công nghiệp theo quy định tại số thứ tự III phần B, phụ lục I nghị định số 85/2025- NĐ-CP ngày 08/04/2025, Nghị định quy định chi tiết thi hành một số điều của Luật đầu tư công, Dự án thuộc nhóm B (dự án có tổng mức đầu tư từ 120 tỷ đồng đến dưới 2.000 tỷ đồng)

Loại hình sản xuất, kinh doanh, dịch vụ: Dự án hoạt động với ngành nghề là sản xuất thức ăn gia súc, gia cầm và thủy sản (mã ngành 1080) với quy mô 54.000 tấn sản phẩm/năm. Dự án không thuộc loại hình sản xuất, kinh doanh, dịch vụ có nguy cơ gây ô nhiễm môi trường quy định tại phụ lục II ban hành kèm theo Nghị định 05/2025/NĐ- CP ngày 06/01/2025.

- Phân nhóm dự án đầu tư:

+ Dự án thuộc dự án nhóm III thuộc số thứ tự 2 mục II, Phụ lục V, phụ lục ban hành kèm theo Nghị định 05/2025/NĐ-CP ngày 06/01/2025 của Chính Phủ về Sửa đổi, bổ sung một số điều của Nghị định 08/2022/NĐ-CP ngày 10/01/2022 - Quy định chi tiết một số điều của Luật Bảo vệ môi trường 2020.

+ Dự án thuộc đối tượng phải có giấy phép môi trường theo quy định tại khoản 1 điều 39 Luật bảo vệ môi trường số 72/2020/QH14.

+ Về thẩm quyền cấp giấy phép môi trường: Căn cứ theo khoản 1, Điều 39 Luật bảo vệ môi trường số 72/2020/QH14 và điểm đ khoản 1 Điều 26 Nghị định 131/2025/NĐ-CP, Dự án thuộc đối tượng lập hồ sơ đề xuất cấp Giấy phép môi trường trình UBND tỉnh Ninh Bình cấp phép.

Báo cáo đề nghị cấp giấy phép môi trường của Dự án được viết theo mẫu phụ lục IX của Nghị định 05/2025/NĐ-CP ngày 06/01/2025 của Chính Phủ về Sửa đổi, bổ sung một số điều của Nghị định 08/2022/NĐ-CP ngày 10/01/2022 - Quy định chi tiết một số điều của Luật Bảo vệ môi trường 2020.

3.Công suất, công nghệ, sản phẩm của dự án đầu tư:

3.1.Công suất của dự án đầu tư

Theo Giấy chứng nhận đăng ký đầu tư mã số dự án: ..... do Ban Quản lý Các khu công nghiệp tỉnh Hà Nam chứng nhận lần đầu: ngày 17 tháng 6 năm 2025.

3.1.1.Mục tiêu của dự án:

Sản xuất thức ăn gia súc, gia cầm và thủy sản (mã ngành 1080). Chi tiết:

+ Sản xuất thức ăn chăn nuôi dạng bột, viên,...

3.1.2 Quy mô của Dự án

Công suất thiết kế: 54.000 tấn sản phẩm/năm

3.2.Công nghệ sản xuất của dự án đầu tư, đánh giá việc lựa chọn công nghệ sản xuất của dự án đầu tư

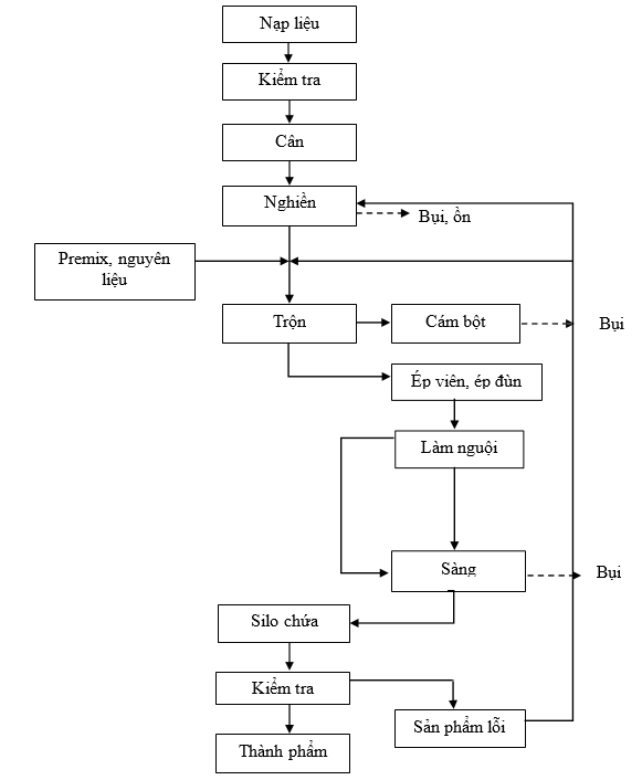
Hình I-1. Quy trình sản xuất thức ăn chăn nuôi dạng bột và dạng viên

Thuyết minh quy trình sản xuất:

Bước 1:

- Nhập liệu và kiểm tra:

Nguyên liệu được kiểm tra trước khi nhập kho để đảm bảo đáp ứng được các tiêu chuẩn. Nguyên liệu không đáp ứng được tiêu chuẩn chất lượng sẽ trả lại cho đơn vị cung cấp nguyên liệu.

Bước 2:

- Cân và nạp liệu:

 

Toàn bộ nguyên liệu đạt yêu cầu sẽ được cân và nạp vào bồn silo để chuẩn bị cho các công đoạn tiếp theo.

Bước 3:

- Nghiền:

Các nguyên liệu được nạp vào silo sẽ đưa vào hệ thống máy nghiền. Nguyên liệu sau khi được nghiền thành bột có kích thước hạt từ 0,2 đến 0,3 mm được đưa lên bin chờ bằng vít tải và chuẩn bị chuyển sang công đoạn trộn.

Bước 4:

Trộn:

+ Nguyên liệu sau khi được nghiền mịn được đưa lên các bin chờ sẽ được đưa vào thùng của máy trộn. Khối lượng mỗi nguyên liệu được điều chỉnh tùy theo công thức đã được thiết lập sẵn. Van xả sẽ tự động đóng khi lượng nguyên liệu đi qua cân đã đủ khối lượng quy định. Việc điều khiển khối lượng mỗi nguyên liệu hoàn toàn tự động thông qua hệ thống điều khiển bằng vi tính. Các loại nguyên liệu bổ sung, các chất vi lượng đã được trộn sẵn thành premix và chất phụ gia (tạo màu, tạo mùi, bảo quản..) được đóng thành từng bao nhỏ và đưa trực tiếp vào thùng của máy trộn qua bin riêng.

+ Hệ thống trộn theo nguyên tắc khuấy, sử dụng cánh xoắn quay trong thùng trộn đều các nguyên liệu với nhau. Sau khi ra khỏi thùng trộn, sản phẩm dạng bột sẽ được chuyển sang silo chứa rồi kiểm tra chất lượng. Sản phẩm đạt yêu cầu sẽ được đóng bao và chờ xuất bán. Nguyên liệu sau trộn nếu là sản phẩm dạng viên sẽ chuyển sang công đoạn ép viên.

Bước 5:

-   Ép đùn: Đây là công nghệ ép viên ở nhiệt độ và áp suất cao. Hỗn hợp nguyên liệu được đưa qua máy ép đùn, tại đây chúng được nấu chín và ép qua khuôn tạo hình. Nhờ áp suất cao và nhiệt độ cao, viên thức ăn khi ra khỏi khuôn sẽ nở ra, có độ xốp và khả năng nổi trên mặt nước.

Ép viên: Hệ thống ép viên nén hoạt động dựa trên nguyên lý nén ép hỗn hợp nguyên liệu qua khuôn định hình. Hỗn hợp nguyên liệu trước khi ép được làm nóng ở nhiệt độ khoảng 85 độ C và độ ẩm được kiểm soát dưới 16%.

Bước 6:

- Làm nguội:

Sau khi ra khỏi hệ thống ép và hệ thống đùn. Sản phẩm được làm nguội bằng không khí lạnh, Không khí môi trường được quạt hút qua lớp cám viên, Dòng không khí lạnh đi từ dưới lên, viên cám rơi từ trên xuống → trao đổi nhiệt → cám nguội dần.

Bước 7:

- Kiểm tra, đóng gói:

 

Sản phẩm hoàn chỉnh được đo lường và kiểm tra để đảm bảo chất lượng. Sản phẩm đủ điều kiện được đóng gói và vận chuyển cho khách hàng. Các sản phẩm lỗi sẽ được đưa trở lại hệ thống nghiền.

Các công đoạn được thực hiện trong hệ thống kín (không có công đoạn ướt như nấu, ủ, rửa) nên không phát sinh nước thải.

3.3. Sản phẩm của dự án đầu tư

Sản phẩm của Dự án đầu tư: Sản xuất thức ăn chăn nuôi dạng bột, viên,...với quy mô 54.000 tấn sản phẩm/năm.

Hình I-2. Hình ảnh sản phẩm thức ăn chăn nuôi dạng viên, dạng bột

4.Nguyên liệu, nhiên liệu, vật liệu, phế liệu, điện năng, hóa chất sử dụng, nguồn cung cấp điện, nước của dự án đầu tư

4.1.Nhu cầu nguyên, nhiên, vật liệu và hóa chất sử dụng

a.Giai đoạn xây dựng

Bảng I-1. Nhu cầu nguyên, vật liệu phục vụ cho quá trình xây dựng

STT

Nguyên vật liệu

Đơn vị tính

Khối lượng

1

Bê tông (nền, móng, đà kiềng, cột, giằng)

Tấn

2113,80

2

Cát đá các loại

Tấn

975,00

3

Gạch các loại (gạch xây và gạch ốp)

Tấn

858,00

4

Gỗ các loại

Tấn

5,30

5

Sơn

Tấn

1,33

6

Thép xây dựng

Tấn

351,00

7

Thép tiền chế

Tấn

783,12

8

Tôn lợp

Tấn

134,71

9

Xi măng

Tấn

156,00

10

Coffa

Tấn

15,99

11

Dàn giáo

Tấn

65,44

12

Dây điện, cột điện

Tấn

26,60

13

Vật liệu cấp thoát nước…

Tấn

11,23

14

Que hàn

Tấn

0,23

15

Nguyên liệu phát sinh

Tấn

117,00

Tổng

Tấn

5.614,75

Nguồn: Công ty Cổ phần.......

Nhu cầu nguyên vật liệu phục vụ việc xây dựng Dự án bao gồm sắt, thép, đá, cát, gạch, bê tông nhựa, bê tông xi măng, xi măng, gỗ,... Nguồn cung ứng vật liệu đến từ các đơn vị cung cấp có uy tín trong khu vực để đảm bảo khoảng cách vận chuyển.

Ngoài ra trong quá trình thi công xây dựng dự án còn sử dụng một lượng dầu diezel để phục vụ cho các máy móc, thiết bị thi công trên công trường. Máy móc và nhu cầu sử dụng nhiên liệu của các thiết bị máy móc hoạt động trên công trường dự án trong khoảng thời gian thi công được ước tính dưới bảng sau:

Bảng I-2. Danh mục máy móc và nhu cầu sử dụng dầu diezel trong giai đoạn thi công

 

 

 

STT

 

 

 

Máy móc thi công

 

 

Số lượng ca làm việc (ca)

 

Định mức sử dụng điện/ca (lít dầu diezel/ca)

 

Tổng lượng dầu diezel sử dụng (lít)

1

Máy cắt khe MCD

2.24

8

17.9

2

Máy đào 0,8m3

4.98

65

323.7

3

Máy lu rung tự hành

53.04

67

3553.5

4

Máy ủi 110 CV

6.81

46

313.1

5

Cần trục ôtô 10T

19.51

37

721.7

6

Cần cẩu bánh hơi 6 T

2.78

25

69.5

7

Máy phun nhựa đường 190 CV

3.07

57

175.0

 

8

 

Máy rải cấp phối đá dăm 50- 60 m3/h

 

16.43

 

30

 

493.0

 

Tổng

 

 

5667.4

Nguồn: Quyết định số 3993/QĐ-SXD ngày 05/12/2023 của Sở Xây dựng tỉnh Ninh Bình về việc công bố đơn giá nhân công, giá ca máy và thiết bị thi công xây dựng trên địa bàn tỉnh Ninh Bình

b.Giai đoạn hoạt động

Nhu cầu nguyên vật liệu:

Nhu cầu nguyên vật liệu phục vụ cho hoạt động sản xuất của dự án thu mua từ các nhà cung cấp nguyên liệu uy tín trong nước:

Bảng I-3. Nhu cầu sử dụng nguyên liệu trong giai đoạn hoạt động của dự án

STT

Nguyên liệu

Đơn vị

Khối lượng

Xuất xứ

Mục đích sử dụng

I

Nguyên liệu chính

 

 

 

 

1

Vỏ đậu

Tấn/năm

1820

 

 

2

Cám dừa nhập

Tấn/năm

2160

 

 

3

Ngô Nam Mỹ

Tấn/năm

15120

 

 

4

Cám mỳ

Tấn/năm

3340

 

 

5

Lúa mì Úc

Tấn/năm

13500

 

 

6

Khô đậu Argentina

Tấn/năm

5320

 

 

7

DDGS Mỹ

Tấn/năm

4320

 

 

8

Rỉ mật

Tấn/năm

6750

 

 

9

Bentonite

Tấn/năm

540

 

 

10

Bột đá mịn

Tấn/năm

540

 

 

11

DCP

Tấn/năm

540

 

 

12

Muối (NaCl)

Tấn/năm

540

 

 

II

Nguyên liệu phụ

 

 

 

 

13

Lysine 98 AJ

Tấn/năm

5,6

 

 

14

Threonin Sewon

Tấn/năm

54

 

 

15

Methionine 99

Tấn/năm

16,2

 

 

16

BMD

Tấn/năm

54

 

 

17

Thảo dược

Tấn/năm

54

 

 

18

Haquinol

Tấn/năm

27

 

 

19

Diclazuril

Tấn/năm

54

 

 

20

Premix Vitamin -

khoáng

Tấn/năm

163

 

 

21

Hương thơm nhập

khẩu

Tấn/năm

21,6

 

 

22

CuSO4

Tấn/năm

247,6

 

 

23

Men vi sinh bổ trợ

tiêu hóa

Tấn/năm

110

 

 

24

Cholin

Tấn/năm

16,2

 

 

 

 

55.313,2

 

 

Nguồn: Công ty Cổ phần ......

Nhu cầu vật liệu:

Nhu cầu vật liệu phục vụ cho hoạt động sản xuất của dự án bao gồm các chai, nút, nắp, nhãn dán, bao bì, thùng carton… được chủ dự án đặc mua từ các đơn vị sản xuất uy tín trong nước.

Bảng I-4. Nhu cầu sử dụng vật liệu trong giai đoạn hoạt động của dự án

 

STT

 

Tên Vật tư

Khối lượng (tấn/năm)

1

Bao bì

270

2

Chỉ may bao

9

Tổng cộng

279

Nhu cầu nhiên liệu:

Dự án sử dụng 01 lò hơi công suất 3 tấn hơi/giờ để cấp hơi cho hoạt động sản xuất của dự án. Lò hơi sử dụng nhiên liệu củi với nhu cầu sử dụng nhiên liệu khoảng 1.750 tấn/năm

Ngoài ra, trong giai đoạn hoạt động để đảm bảo nguồn điện cung cấp cho hoạt động của dự án chủ dự án sẽ trang bị 1 máy phát điện dự phòng có công suất là 500KVA/máy để dự phòng cho trường mất điện. Do đó, trong giai đoạn hoạt động của dự án sẽ cần một lượng dầu DO phục vụ cho máy phát điện, tham khảo lượng dầu sử dụng cho máy phát điện trong bảng sau đây:

Bảng I-5. Nhiên liệu cho máy phát điện

 

Công suất

 

Số lượng

Suất tiêu hao nhiên liệu (lít/giờ)

25% tải

50% tải

75% tải

100% tải

500 KVA

01

33,7

60,6

69,2

93,3

Dự án sử dụng 01 máy phát điện, ước tính 1 năm có khoảng 8 lần mất điện do sự cố và kiểm tra bảo trì, bảo dưỡng đường dây điện trên toàn dự án. Mỗi lần mất điện máy phát điện sẽ hoạt động với 100% tải trong khoảng 2-4 tiếng thì lượng dầu DO tiêu thụ mỗi năm ước tính khoảng 1.493 lít – 2.986 lít.

Máy phát điện được đặc tại vị trí riêng biệt cạnh khu vực hạ tầng kỹ thuật. Thiết bị lưu trữ dầu phục vụ cho máy phát điện sẽ được đặt cạnh máy phát điện.

Nhu cầu máy móc, thiết bị phục vụ cho hoạt động sản xuất của Dự án trong giai đoạn hoạt động được thể hiện dưới bảng sau:

Bảng I-6. Danh mục máy móc, thiết bị của Dự án khi đi vào hoạt động

STT

Máy móc, thiết bị

Thông số

Đơn vị

Số lượng

Năm sản xuất

Xuất xứ

1

Hệ thống nạp nguyên liệu

 

Hệ thống

2

 

Việt Nam

2

Hệ thống nghiền

 

Hệ thống

2

 

Việt Nam

3

Hệ thống bin chứa và cân định lượng

 

 

Hệ thống

 

1

 

 

Việt Nam

4

Hệ thống trộn

 

Hệ thống

1

 

Việt Nam

5

Hệ thống ép đùn xử lý làm chín nguyên liệu

 

 

Hệ thống

 

1

 

Trung Quốc/Việt Nam

6

Hệ thống ép viên

 

 

Hệ thống

 

2

 

Châu Âu/Việt Nam

7

Hệ thống kết cấu thép

 

Hệ thống

1

 

Việt Nam

8

Lò hơi

3 tấn/h

Cái

1

 

 

9

Máy phát điện

500KW

Máy

1

 

 

4.2.Nhu cầu sử dụng điện

a.Giai đoạn xây dựng

Nhu cầu sử dụng điện trong giai đoạn xây dựng của dự án được dùng cho các máy móc, thiết bị sử dụng điện trên công trường, hoạt động chiếu sáng và sinh hoạt của công nhân xây dựng tại dự án với nhu cầu khoảng 594 kW/tháng.

b.Giai đoạn hoạt động

Nguồn điện cung cấp cho Nhà máy được lấy từ trạm biến áp khu vực do điện lực địa phương quản lý, đường điện của KCN Đồng Văn I mở rộng cho các phụ tải của nhà máy, doanh nghiệp sẽ ký Hợp đồng với điện lực Hà Nam.

Tổng nhu cầu sử dụng điện dự kiến: Nhu cầu sử dụng điện trong sản xuất của Nhà máy tương đối ổn định. Điện năng được sử dụng chủ yếu cho quá trình sản xuất và một phần dùng cho sinh hoạt.

+ Công suất sử dụng điện của các thiết bị trong dây chuyền sản xuất, thiết bị văn phòng, thiết bị bảo vệ,… dự kiến là 80.000 KW/tháng

+ Tổng điện năng dự kiến cần sử dụng trong một năm là: 80.000 KW x 12 tháng = 960.000 KWh/năm

4.3.Nhu cầu sử dụng nước

Nguồn nước cấp cho giai đoạn xây dựng và hoạt động của dự án được lấy từ mạng lưới nước cấp của KCN Đồng Văn I mở rộng.

a.Giai đoạn xây dựng:

Trong giai đoạn xây dựng ước tính có khoảng 50 công nhân làm việc trên công trường của dự án. Định mức cấp nước 100 lít/người/ngày đêm (Nguồn: QCVN 01:2021/BXD – Quy chuẩn kỹ thuật quốc gia về quy hoạch xây dựng). Tuy nhiên, đối với công nhân không ăn ở tại công trường, ước tính định mức cấp nước là 45 lít/người/ngày. Ước tính tổng nước dùng cho sinh hoạt trong giai đoạn xây dựng của dự án là: 50 người x 45 lít/người.ngày = 2.250 lít/ngày = 2,25m3/ngày.

Bên cạnh nước cấp cho hoạt động sinh hoạt của công nhân xây dựng trên công trường, còn một lượng nước cấp để vệ sinh máy móc, thiết bị, tưới nước giảm bụi... trên công trường:

- Nước vệ sinh máy móc, thiết bị, phương tiện giao thông… khoảng 3 m3/ngày.

- Nước tưới giảm bụi trên công trường xây dựng: khoảng 2 m3/ngày.

- Nước cấp trộn vữa, ... khoảng 1 m3/ngày

Như vậy tổng lượng nước cấp cần dùng trong giai đoạn xây dựng của dự án là khoảng 8,25 m3/ngày.

b.Giai đoạn hoạt động:

Khu vực thực hiện dự án nằm trong KCN đã có hệ thống cung cấp nước sạch của Khu công nghiệp Đồng Văn I mở rộng, vì vậy để cung cấp nước cho các hoạt động của dự án, Công ty sẽ ký hợp đồng cấp nước cho nhà máy. Nhu cầu nước của nhà máy cung cấp chủ yếu là cho sinh hoạt của cán bộ, công nhân viên, nước phục vụ sản xuất.

-   Nước cấp cho sinh hoạt: Tổng số cán bộ, công nhân viên làm việc tại nhà máy là 71 người. Theo tiêu chuẩn 13606:2023 – Cấp nước – Mạng lưới đường ống và công trình – Yêu cầu thiết kế. Nhu cầu sử dụng nước 1 người là 45 lít/người/ca. Hệ số sử dụng nước không điều hòa (K=1,2- Mục 5.2.1). Khi đó tổng nhu cầu sử dụng nước cấp sinh hoạt khoảng: (71 người x 45 lít/người/ca : 1000) x 1,2 = 3,83 m3/ngày.

Nước sử dụng cho hoạt động bếp ăn: Theo cung cấp của nhà máy, số lượng suất ăn một ngày của nhà máy là 71 suất. Theo Tiêu chuẩn Việt Nam TCVN 4513:1988 về cấp nước bên trong – tiêu chuẩn thiết kế, nhu cầu sử dụng nước là 25 lít/người/bữa ăn. Tổng nhu cầu sử dụng nước cho hoạt động bếp ăn khoảng: ( 71 suất × 25 lít/người/bữa ăn : 1000) = 1,78 m3/ngày

Nước tưới cây rửa đường: Với tổng diện tích cây xanh, đường nội bộ của nhà máy là 2.927,09m2, Theo tiêu chuẩn 13606:2023 – Cấp nước – Mạng lưới đường ống và công trình – Yêu cầu thiết kế, nhu cầu nước tưới cây khoảng 0,5 lít/m2. Do đó khối lượng nước sử dụng cho tưới cây là: 2.927,09m2 x 0,5lít/m2 : 1000 = 1,47 m3/ngày.

Nước sử dụng cho hoạt động sản xuất:

+ Nước cấp cho lò hơi: Định mức sử dụng nước cho nồi hơi là 1 m3 nước/ 1 tấn hơi.

+ Nước cấp cho xử lý khí thải lò hơi: 0,25 m3/ngày

Bảng I-7. Nhu cầu sử dụng nước trong giai đoạn hoạt động của dự án

 

STT

Mục đích sử dụng

 

Định mức cấp nước

Lưu lượng sử dụng ổn định (m3/ngày đêm)

 

 

1

Nước cấp cho sinh hoạt cán bộ công nhân

viên

 

45l/người/ Ca

 

 

3.83

2

Nước phục vụ nấu ăn

25l/người/ bữa ăn

1,78

 

3

Nước tưới cây, rửa

đường

 

0,5l/m2

 

1,47

4

Nước cấp cho lò hơi

1 m3 nước/1 tấn hơi

24

 

STT

Mục đích sử dụng

 

Định mức cấp nước

Lưu lượng sử dụng ổn định (m3/ngày đêm)

 

5

Nước cấp cho XLKT

lò hơi

 

 

0,25

Tổng

31,33

Nước thất thoát (10%)

2,23

Tổng lượng nước dùng trong ngày

34,56

Tổng lượng nước dùng trong ngày (Kmax =1,2)

41,67

Ngoài ra dự án còn có nhu cầu sử dụng nước cho PCCC với nhu cầu nước chữa cháy 15 lít/s trong 1 giờ (theo TCVN 2622-1995), nước dập tắt các đám cháy không đưa thường xuyên vào mạng lưới mà chỉ đưa vào khi có cháy xảy ra. Số đám cháy có thể xảy ra đồng thời là n = 1. Như vậy ước tính lượng nước cần dùng mỗi khi xảy ra cháy là: 15/s x 3600s/h x 1h /1000 lít/m3 = 54 m3

Để đảm bảo nước cho PCCC của dự án, chủ dự án sẽ trang bị 01 bể chứa nước PCCC và sinh hoạt với thể tích lưu chứa là 60 m3.

5.Các thông tin khác liên quan đến dự án đầu tư (nếu có):

5​.1.Vị trí thực hiện dự án

Dự án được thực hiện tại lô CN01 – Khu công nghiệp Đồng Văn I mở rộng, phường Đồng Văn, tỉnh Ninh Bình với diện tích nhà xưởng dự kiến 8.000 m2.

Vị trí của Công ty TNHH Cổ phần .... có ranh giới tiếp giáp cụ thể như sau:

-  Phía Đông: giáp đường D2 Khu công nghiệp

-  Phía Tây: giáp lô đất cho thuê Khu công nghiệp

-  Phía Nam: giáp đường N3 Khu công nghiệp

-  Phía Bắc: giáp lô đất cho thuê Khu công nghiệp

Tọa độ góc ranh của dự án được giới hạn bởi các điểm.

Bảng I-8. Toạ độ mốc ranh dự án

TT

Điểm

Tọa độ

X

Y

1

MBG1

2287007.19

597703.88

2

MBG2

2287007.19

597771.33

3

MBG3

2287007.19

597781.33

4

MBG4

2287111.13

597781.33

5

MBG5

2287111.13

597703.88

Nguồn: Công ty Cổ phần.....

Hình I-3. Vị trí thực hiện dự án

5.2.Hiện trạng quản lý, sử dụng đất, mặt nước của dự án.

Khu vực thực hiện dự án nằm trong Khu công nghiệp Đồng Văn I mở rộng đã được quy hoạch. Cơ sở hạ tầng được KCN hoàn thiện bao gồm hệ thống cấp điện, cấp nước, thoát nước mưa, thoát nước thải, hệ thống đường nội bộ KCN, …

Diện tích nhà xưởng dự kiến sử dụng 8.000 m2 tại lô CN01 – Khu công nghiệp Đồng Văn I mở rộng, phường Đồng Văn, tỉnh Ninh Bình

Bảng I-9. Quy mô sử dụng đất của Dự án

 

TT

 

Hạng mục

 

Đơn vị

 

Số tầng

Diện tích xây dựng

Diện tích sàn

xây dựng

 

Tỷ lệ (%)

 

Ghi chú

 

Diện tích: 8.000 m2

 

 

 

 

 

 

1

Nhà xưởng

m2

1

4.624,00

4.624,00

57,80

 

2

Nhà văn phòng

m2

3

140,00

420,00

1,75

 

3

Nhà bảo vệ

m2

1

16,00

16,00

0,20

 

3

Trạm bơm

m2

1

15,00

15,00

0,19

 

3

Nhà chứa rác

m2

1

20,00

20,00

0,25

 

4

Trạm xử lý nước thải

m2

1

20,00

20,00

0,25

 

5

Trạm biến áp

m2

1

9,00

9,00

0,11

 

6

Bồn hoa cây xanh

m2

1

1.898,00

-

23,73

 

7

Sân đường nội bộ

m2

1

1.138,00

-

14,23

 

8

Bể PCCC

m2

1

-

-

-

 

9

Các công trình phụ

trợ khác

m2

1

120,00

120,00

1,50

 

Tổng

 

8.000,00

5.244,00

100,00

 

Nguồn: Công ty Cổ phần ....

5.3. Tiến độ, vốn đầu tư, tổ chức quản lý và thực hiện dự án

Tiến độ thực hiện dự án

- Hoàn thành các thủ tục hành chính, đầu tư xây dựng, lắp đặt máy móc thiết bị, tuyển dụng lao động, vận hành chạy thử: Đến tháng 05/2027.

Vốn đầu tư

Tổng vốn đầu tư: 4.807.115 USD (Bốn triệu tám trăm linh bảy nghìn một trăm mười lăm đô la Mỹ) tương đương 120.000.000.000 VND (Một trăm hai mươi tỷ đồng Việt Nam). Theo tỷ giá của Ngân hàng nhà nước Việt Nam công bố ngày 26/04/2025 1 USD = 24.963 VND.

Bảng I-10. Vốn đầu tư của Dự án

TT

Hạng mục

Giá trị (USD)

Giá trị (VND)

Ghi chú

 

Tổng vốn đầu tư

4.807.115

120.000.000.000

 

1

Vốn cố định

4.074.134

101.702.600.000

 

 

- Chi phí thuê hạ tầng

930.922

23.238.600.000

 

 

- Chi phí xây dựng

1.048.111

26.164.000.000

 

 

- Máy móc, thiết bị

2.095.101

52.300.000.000

 

2

- Vốn lưu động

732.981

18.297.400.000

 

II

Nguồn vốn

4.807.115

120.000.000.000

 

1

Vốn góp

1.001.483

25.000.000.000

 

2

Vốn vay

3.805.632

95.000.000.000

 

a) Vốn góp của nhà đầu tư là 1.001.483 USD (Một triệu không trăm linh một nghìn bốn trăm tám mươi ba đô la Mỹ) tương đương 25.000.000.000 VND (Hai mươi lăm tỷ đồng Việt Nam), chiếm 20,83% tổng mức đầu tư của dự án.

b) Vốn huy động của dự án là 3.805.632 USD (Ba triệu tám trăm linh năm nghìn sáu trăm ba mươi hai đô la Mỹ) tương đương 95.000.000.000 (Chín mươi lăm tỷ đồng Việt Nam).

Nguồn vốn đầu tư:

a)Vốn góp để thực hiện dự án:

 

STT

 

Tên nhà đầu tư

Số vốn góp

Tỷ lệ (%)

Phương thức góp vốn (*)

 

Tiến độ góp vốn

 

USD

 

VND

1

Nippon Als Co., Ltd

200.296

5.000.000.000

20

 

 

 

 

Bằng tiền

 

 

 

90 ngày kể từ ngày cấp GCNDKDN

 

2

Công ty TNHH Nippon Zoki Việt Nam

 

500.741

 

12.500.000.000

 

50

 

3

Công ty cổ phần nông nghiệp VCN

 

300.446

 

7.500.000.000

 

30

 

Tổng

1.001.483

25.000.000.000

100

 

 

b) Vốn huy động

+ Vốn vay từ các tổ chức tín dụng: 3.805.632 USD (Ba triệu tám trăm linh năm nghìn sáu trăm ba mươi hai đô la Mỹ) tương đương 95.000.000.000 (Chín mươi lăm tỷ đồng Việt Nam);

+ Vốn huy động từ cổ đông, thành viên, từ các chủ thể khác: Không;

+ Vốn huy động từ nguồn khác (ghi rõ nguồn): Không;

+ Lợi nhuận để lại của nhà đầu tư để tái đầu tư (nếu có): Không.

+ Vốn khác: Không.

>>> XEM THÊM: Hồ sơ xin giấy phép môi trường cho dự án đầu tư xây dựng trang trại chăn nuôi gà

GỌI NGAY – 0903649782 - 028 35146426

CÔNG TY CỔ PHẦN TƯ VẤN ĐẦU TƯ & THIẾT KẾ XÂY DỰNG MINH PHƯƠNG 
 
Địa chỉ: 28B Mai Thị Lựu - Khu phố 7, Phường Tân Định, TP.HCM
Hotline:  028 3514 6426 - 0903 649 782 
Email:  nguyenthanhmp156@gmail.com

 

Bình luận (0)

Gửi bình luận của bạn

Captcha
90Phut TV CakhiaTV xoilac xoilac tv Cakhia TV 90phut TV VeboTV Xoilac TV