Báo cáo đề xuất cấp giấy phép môi trường nhà máy sản xuất phân đạm

Báo cáo đề xuất cấp (GPMT) giấy phép môi trường nhà máy sản xuất phân đạm. Công suất đăng ký sản xuất tại Nhà máy hiện hữu 1.588.695 tấn/năm,

Ngày đăng: 07-11-2025

139 lượt xem

CHƯƠNG I. THÔNG TIN CHUNG VỀ CƠ SỞ............... 9

1.   Tên chủ cơ sở....................................................... 9

3.   Công suất, công nghệ, sản phẩm sản xuất.................................. 22

3.1.   Công suất hoạt động của cơ sở.............................................. 22

3.2.   Công nghệ sản xuất của cơ sở.................................................... 23

3.2.1.   Công nghệ sản xuất hiện hữu............................................... 23

3.2.2.   Công trình dự kiến đầu tư................................................. 55

3.3.   Sản phẩm của cơ sở.............................................................. 59

4.   Nguyên, nhiên, vật liệu, điện năng, hóa chất sử dụng của dự án; nguồn cung cấp điện, nước của cơ sở... 59

CHƯƠNG II. SỰ PHÙ HỢP CỦA CƠ SỞ VỚI QUY HOẠCH, KHẢ NĂNG CHỊU TẢI CỦA MÔI TRƯỜNG. 67

1.   Sự phù hợp của cơ sở với quy hoạch bảo vệ môi trường quốc gia, quy hoạch tỉnh, phân vùng môi trường...... 67

2.   Sự phù hợp của cơ sở đối với khả năng chịu tải của môi trường..... 68

CHƯƠNG III. KẾT QUẢ HOÀN THÀNH CÁC CÔNG TRÌNH, BIỆN PHÁP BẢO VỆ MÔI TRƯỜNG CỦA CƠ SỞ... 71

1.   Công trình, biện pháp thoát nước mưa, thu gom và xử lý nước thải.... 71

1.1.   Thu gom, thoát nước mưa................................................. 71

1.2.   Thu gom, thoát nước thải.............................................. 74

1.3.   Xử lý nước thải........................................................... 82

1.3.1.   Xử lý nước thải sinh hoạt............................................... 82

1.3.2.   Xử lý nước thải nhiễm dầu...................................... 88

1.3.3.   Xử lý nước thải nhiễm amoniac.................................... 94

2.   Công trình, biện pháp xử lý bụi, khí thải......................................... 98

2.1.   Hệ thống các ống khói............................................................ 98

2.2.   Hệ thống các đuốc đốt.................................................... 100

2.3.   Biện pháp xử lý bụi, khí thải của xưởng sản xuất phân bón phức hợp...110

2.3.1.   Hệ thống lọc bụi túi ở khu vực cân định lượng nguyên liệu, nạp liệu và đóng bao...110

2.3.2.   Hệ thống cyclone khu vực đóng bao và khu vực chuẩn bị nguyên liệu...116

2.3.3.   Khu vực tạo hạt, sấy, làm nguội, sàng lọc và nghiền............... 118

2.3.4.    Biện pháp kiểm soát và giảm thiểu mùi (NH3) tại xưởng sản xuất PBPH... 126

2.4.   Công trình, biện pháp xử lý bụi, khí thải của hệ thống xuất hàng xá...127

3.   Công trình, biện pháp lưu giữ, xử lý chất thải rắn thông thường........128

3 1. Công trình, biện pháp lưu giữ chất thải rắn sinh hoạt (CTRSH) phát sinh...128

3.2.   Công trình, biện pháp lưu giữ chất thải rắn thông thường........... 130

4.   Công trình, biện pháp lưu giữ, xử lý chất thải nguy hại.................... 131

5.   Công trình, biện pháp giảm thiểu tiếng ồn, độ rung........................ 137

6.  Phương án phòng ngừa, ứng phó sự cố môi trường trong quá trình vận hành thử nghiệm và khi dự án đi vào vận hành.......................... 137

7.   Các nội dung thay đổi so với quyết định phê duyệt kết quả thẩm định báo cáo đánh giá tác động môi trường hoặc giấy phép môi trường, giấy phép môi trường thành phần đã được cấp...144

7.1.   Trong giai đoạn xây dựng......................................... 150

7.1.1.    Khối lượng nguyên, nhiên liệu sử dụng trong giai đoạn xây dựng cơ bản.. 150

7.1.2.   Biện pháp tổ chức thi công...................... 152

7.1.3.   Đánh giá, dự báo tác động trong giai đoạn xây dựng..... 159

7.1.4.    Các công trình, biện pháp thu gom, lưu giữ, xử lý chất thải và biện pháp giảm thiểu tác động tiêu cực khác đến môi trường giai đoạn xây dựng... 172

7.2.   Trong giai đoạn vận hành...................................................... 179

7.2.1.   Đánh giá, dự báo các tác động trong giai đoạn vận hành............. 179

7.2.2.   Công trình, biện pháp xử lý bụi, khí thải.................... 180

CHƯƠNG IV. NỘI DUNG ĐỀ NGHỊ CẤP, CẤP LẠI GIẤY PHÉP MÔI TRƯỜNG.............. 182

1.     Nội dung đề nghị cấp phép đối với nước thải......................... 182

1.1.   Nguồn phát sinh nước thải...................................................... 182

1.2.   Dòng nước thải xả vào nguồn tiếp nhận, nguồn tiếp nhận nước thải, vị trí xả thải..183

2.     Nội dung đề nghị cấp phép đối với khí thải..................................... 185

2.1.   Nguồn phát sinh khí thải............................................................... 185

2.2.   Dòng khí thải, vị trí xả thải............................................................... 186

3.   Nội dung đề nghị cấp phép đối với tiếng ồn, độ rung......................... 190

3.1.   Nguồn phát sinh tiếng ồn, độ rung............................................... 190

3.2.   Vị trí phát sinh tiếng ồn, độ rung................................................ 190

CHƯƠNG V. KẾT QUẢ HOẠT ĐỘNG VÀ TÌNH HÌNH THỰC HIỆN CÔNG TÁC BẢO VỆ MÔI TRƯỜNG CỦA CƠ SỞ.... 192

1.   Thông tin chung về tinh hình thực hiện công tác bảo vệ môi trường.... 192

2.   Kết quả hoạt động của công trình xử lý nước thải........................ 192

3.   Kết quả hoạt động của công trình xử lý bụi, khí thải....................... 201

4.  Tình hình phát sinh, xử lý chất thải......................................... 204

4.1.   Chất thải rắn sinh hoạt phát sinh............................................... 204

4.2.   Chất thải rắn thông thường....................................................... 205

4.3.   Chất thải nguy hại...................................................................... 205

5.  Kết quả kiểm tra, thanh tra về bảo vệ môi trường đối với cơ sở..... 207

CHƯƠNG VI. KẾ HOẠCH VẬN HÀNH THỬ NGHIỆM VÀ CHƯƠNG TRÌNH QUAN TRẮC MÔI TRƯỜNG CỦA CƠ SỞ...... 208

1.   Kế hoạch vận hành thử nghiệm công trình xử lý chất thải............. 208

1.1.   Thời gian dự kiến vận hành thử nghiệm....................................... 208

1.2.  Kế hoạch quan trắc chất thải, đánh giá hiệu quả xử lý của các công trình, thiết bị xử lý chất thải.....208

2.   Chương trình quan trắc chất thải (tự động, liên tục và định kỳ) theo quy định của pháp luật..209

2.1.   Chương trình quan trắc định kỳ......................................... 209

2.2.   Chương trình quan trắc tự động, liên tục chất thải................. 211

3.   Kinh phí thực hiện quan trắc môi trường hàng năm..................... 214

CHƯƠNG VII. CAM KẾT CỦA CHỦ CƠ SỞ......................... 215

CHƯƠNG I. THÔNG TIN CHUNG VỀ CƠ SỞ

1.Tên chủ cơ sở

Công ty Cổ phần Phân bón Dầu khí.....

-  Địa chỉ văn phòng: KCN Phường 1, đường Ngô Quyền, phường An Xuyên, tỉnh Cà Mau.

-   Người đại diện theo pháp luật: Ông..... Chức vụ: Tổng giám đốc

- Điện thoại:..........; Fax: ......

-   giấy chứng nhận đăng ký doanh nghiệp Công ty Cổ phần số ....., đăng ký lần đầu ngày 24/3/2011, đăng ký thay đổi lần thứ 6 ngày 14/6/2018 của Sở Kế hoạch và Đầu tư tỉnh Cà Mau.

-  giấy chứng nhận đăng ký đầu tư số ......, chứng nhận lần đầu ngày 04/12/2012, chứng nhận điều chỉnh lần thứ 02 ngày 17/10/2023 của Sở Kế hoạch và Đầu tư tỉnh Cà Mau.

2.Tên cơ sở

Nhà máy sản xuất phân đạm

-   Địa điểm cơ sở: xã Khánh An, tỉnh Cà Mau.

-   Văn bản thẩm định thiết kế xây dựng, các loại giấy phép có liên quan đến môi trường, phê duyệt dự án:

-   Quy mô của cơ sở:

+ Diện tích: tổng diện tích khoảng 89,479ha (bao gồm khoảng 10 ha mặt nước).

+ Cơ sở có tiêu chí như dự án nhóm A (phân loại theo tiêu chí quy định của pháp luật về đầu tư công).

-   Yếu tố nhạy cảm về môi trường:

Việc xác định dự án có yếu tố nhạy cảm về môi trường căn cứ theo điểm c khoản 1 Điều 28 Luật bảo vệ môi trường được quy định chi tiết tại khoản 6, Điều 1, Nghị định số 05/2025/NĐ-CP ngày 06/01/2025 của Chính phủ sửa đổi bổ sung khoản 4 Điều 25 Nghị định số 08/2022/NĐ-CP như sau:

-   Loại hình sản xuất, kinh doanh, dịch vụ: Sản xuất phân bón hóa học, sản xuất khí công nghiệp.

-   Phân nhóm dự án đầu tư: Cơ sở có tiêu chí về môi trường như dự án đầu tư nhóm I theo quy định của Luật Bảo vệ môi trường, Nghị định số 08/2022/NĐ- CP.

Bảng 1.2. Quy mô, công suất của cơ sở hiện hữu và sau khi đăng ký điều chỉnh

TT

Hạng mục

Công suất (tấn/năm)

Ghi chú

I

Công suất đăng ký sản xuất tại Nhà máy hiện hữu

1.588.695

 

1

Sản xuất phân bón

 

Quyết định số 2205/QĐ-BTNMT

ngày 26/9/2016 và Giấy phép môi trường số 405/GPMT- BTNMT ngày 30/12/2022 của Bộ Tài nguyên và Môi trường

-

Xưởng Amoniac

468.450

-

Xưởng Ure

803.745

-

Xưởng sản xuất phân bón phức hợp

300.000

2

Sản xuất CO2 thực phẩm

16.500

Công văn số 2471/SCT-QLCN ngày 06/12/2023 của Sở Công thương tỉnh Cà Mau

II

Công suất đăng ký sản xuất sau khi điều chỉnh, bổ sung

130.325

 

-

Sản xuất khí công nghiệp

 

Sản phẩm đăng ký bổ sung theo Giấy chứng nhận đăng ký đầu tư điều chỉnh lần thứ 2 do Sở Kế hoạch và Đầu tư tỉnh Cà Mau cấp, mã số dự  án  ...., chứng nhận lần đầu ngày 04/12/2012, chứng nhận điều chỉnh lần thứ 02 ngày 17/10/2023

+

Khí Argon

7.325

+

Khí Nitơ

43.000

+

Khí H2

80.000

* Vị trí của cơ sở:

Hình 1.1. Vị trí của cơ sở

Bảng 1.3. Cơ cấu sử dụng đất của cơ sở

 

STT

Tên hạng mục công trình

Diện tích (ha)

 

Hiện trạng

 

Căn cứ thực hiện

 

I

Các hạng mục công trình đã đầu tư xây dựng

 

37,127

 

 

1

Nhà điều hành (ADMIN )

1,132

Giữ nguyên

 

 

 

 

 

 

 

 

 

 

 

 

 

Giấy phép môi trường số            405/GPMT- BTNMT ngày 30/12/2022 của Bộ Tài nguyên và Môi trường

 

Phòng an toàn môi trường, PCCC & CHCN

 

Giữ nguyên

2

0,247

 

3

Phòng quản lý chất lượng

0,277

Giữ nguyên

4

Phòng    điều    khiển trung tâm

0,431

Giữ nguyên

5

Canteen

0,438

Giữ nguyên

6

Văn     phòng     công trường ban QLDA

0,194

Giữ nguyên

 

Phòng giao nhận & Văn phòng xưởng sản phẩm

 

Giữ nguyên

7

0,213

 

8

Xưởng điện & nhà xe cẩu

0,346

Giữ nguyên

9

Xưởng cơ khí

0,452

Giữ nguyên

10

Xưởng    điều   khiển, kho hóa chất & vật tư

0,652

Giữ nguyên

 

Xưởng NPK, Trạm điện UREA & nhà Điều khiển

 

Giữ nguyên

11

0,701

 

12

Kho chứa đạm

3,285

Giữ nguyên

13

Kho đóng bao

2,798

Giữ nguyên

 

STT

Tên hạng mục công trình

Diện tích (ha)

 

Hiện trạng

 

Căn cứ thực hiện

14

Kho bao & xưởng nạp liệu NPK

2,358

Giữ nguyên

 

15

Xưởng UREA

1,778

Giữ nguyên

 

 

16

Bồn                    chứa

AMMONIA

 

 

2,145

Giữ nguyên

Hệ thống XLNT nhiễm Amoniac công suất 120 m3/ngày

17

Xưởng AMMONIA

2,914

Giữ nguyên

18

Cụm xử lý nước khử khoáng

0,725

Giữ nguyên

19

Trạm điện AMMONIA

1,005

Giữ nguyên

20

Cụm khí tự nhiên đầu vào

0,547

Giữ nguyên

 

21

Hệ thống xử lý nước làm   mát   công suất 42.240 m3/ngày

 

1,598

Giữ nguyên

22

Cụm đuốc đốt & hồ sự cố

2,547

Giữ nguyên

 

23

Kho chứa chất thải nguy hại & bãi chứa hàng hóa

3,280

Giữ nguyên

0,467

Giữ nguyên

 

 

 

24

 

 

 

Cụm CO2 thực phẩm

 

 

 

0,300

Giữ nguyên

công văn số 2471/SCT- QLCN ngày 06/12/2023 của Sở Công thương tỉnh Cà Mau và Giấy phép xây dựng số 07/GPXD ngày 03/12/2024 của Sở Xây dựng tỉnh Cà Mau

 

STT

Tên hạng mục công trình

Diện tích (ha)

 

Hiện trạng

 

Căn cứ thực hiện

 

25

 

Kho 12.000 tấn

 

2,282

Giữ nguyên

Giấy phép môi trường số     20/GPMT-UBND ngày   21/7/2023 của UBND tỉnh Cà Mau

26

Trạm xăng dầu

0,270

Giữ nguyên

 

 

 

Giấy phép môi trường số            405/GPMT- BTNMT ngày 30/12/2022 của Bộ Tài nguyên và Môi trường

27

Trạm biến áp

0,042

Giữ nguyên

 

28

Cây xanh chuyên dụng (vườn ươm và thực nghiệm phân bón)

 

2,295

Giữ nguyên

29

Nhà xe 2 & 4 bánh

0,189

Giữ nguyên

30

Cảng siêu trường siêu trọng

0,646

Giữ nguyên

 

31

 

Cảng xuất sản phẩm (có mái che)

 

0,365

Giữ nguyên

Giấy phép xây dựng số 01/GPXD ngày 22/01/2024 của Sở Xây dựng tỉnh Cà Mau

32

Cảng   nhập   nguyên liệu (có mái che)

0,208

Giữ nguyên

 

 

 

 

Giấy phép môi trường số            405/GPMT- BTNMT ngày 30/12/2022 của Bộ Tài nguyên và Môi trường

 

33

Hệ thống XLNT sinh hoạt công suất 240 m3/ngày

 

-

Giữ nguyên

 

34

Hệ     thống     XLNT nhiễm dầu công suất

2.400 m3/ngày

 

-

Giữ nguyên

 

 

35

Hệ thống XLKT tại thiết bị Reforming sơ cấp trong xưởng sản xuất amoniac, công suất 352.414 m3/giờ

 

 

-

Giữ nguyên

 

STT

Tên hạng mục công trình

Diện tích (ha)

 

Hiện trạng

 

Căn cứ thực hiện

 

36

Hệ thống XLKT tại nồi hơi bổ trợ trong xưởng phụ trợ, công suất 279.012 m3/giờ

 

-

Giữ nguyên

 

 

37

Hệ thống XLKT tại cụm tạo hạt ở xưởng sản xuất ure, công suất 768.658 m3/giờ

 

-

Giữ nguyên

 

 

 

38

Hệ thống XLKT tại khu vực tạo hạt, sấy, làm nguồi, sàng lọc và nghiền của xưởng phân bón phức hợp, công suất 262.777 m3/giờ

 

 

 

-

Giữ nguyên

 

 

 

 

 

39

05 Hệ thống XLKT tại khu vực cân định lượng nguyên liệu, nạp liệu và đóng bao của xưởng phân bón phức hợp gồm: 01 hệ thống công suất 14.600 m3/giờ; 01 hệ

thống  2.400  m3/giờ; 01 hệ thống 8.800 m3/giờ và 02 hệ thống 3.111 m3/giờ/hệ thống

 

 

 

 

 

-

Giữ nguyên

II

Các hạng mục sẽ đầu tư xây dựng mới

30,193

 

 

1

Mái che đường E8

0,17

Xây dựng mới

Giấy chứng nhận đăng ký đầu tư điều chỉnh lần thứ 2 do Sở Kế hoạch và Đầu tư tỉnh Cà Mau cấp,  mã  số  dự  án

 

2

Cụm sản xuất khí Công nghiệp (Kho C14)

 

0,381

Xây dựng mới

 

STT

Tên hạng mục công trình

Diện tích (ha)

 

Hiện trạng

 

Căn cứ thực hiện

 

3

Công trình sản xuất công nghiệp, kho tàng (dự kiến)

 

13,138

Xây dựng mới

..., chứng nhận lần đầu ngày 04/12/2012, chứng nhận điều chỉnh lần thứ 02 ngày 17/10/2023

4

Cây xanh cảnh quan

10,328

Xây dựng mới

5

Cây xanh cách ly

4,3

Xây dựng mới

 

 

6

Cảng xuất hàng xá (có mái che)

 

 

0,051

 

 

Xây dựng mới

03 Hệ thống XLKT của hệ thống xuất hàng  xá,  công  suất 2.000 m3/giờ/hệ thống

7

Cảng dự kiến (có mái che)

1,412

Xây dựng mới

 

 

III

 

 

Đất giao thông

 

 

11,626

 

 

Giữ nguyên

Giấy phép môi trường số            405/GPMT- BTNMT ngày 30/12/2022 của Bộ Tài nguyên và Môi trường

 

 

IV

 

 

Mặt nước

 

 

10,533

 

 

Giữ nguyên

Giấy phép môi trường số            405/GPMT- BTNMT ngày 30/12/2022 của Bộ Tài nguyên và Môi trường

 

Tổng

89,479

 

 

3.Công suất, công nghệ, sản phẩm sản xuất

3.1.Công suất hoạt động của cơ sở

Bảng 1.4. Quy mô, công suất của cơ sở hiện hữu và sau khi đăng ký điều chỉnh

TT

Hạng mục

Công suất (tấn/năm)

Ghi chú

I

Công suất đăng ký sản xuất tại Nhà máy hiện hữu

1.588.695

 

1

Sản xuất phân bón

 

Quyết định số 2205/QĐ-BTNMT

ngày 26/9/2016 và Giấy phép môi trường số 405/GPMT-BTNMT ngày 30/12/2022 của Bộ Tài nguyên và Môi trường

-

Xưởng Amoniac

468.450

-

Xưởng Ure

803.745

-

Xưởng sản xuất phân bón phức hợp

300.000

2

Sản xuất CO2 thực phẩm

16.500

Công văn số 2471/SCT-QLCN

 gày 06/12/2023 của Sở Công thương tỉnh Cà Mau

II

Công suất đăng ký sản xuất sau khi điều chỉnh, bổ sung

130.325

 

-

Sản xuất khí công nghiệp

 

Sản phẩm đăng ký bổ sung theo Giấy chứng nhận đăng ký đầu tư điều chỉnh lần thứ 2 do Sở Kế hoạch và Đầu tư tỉnh Cà Mau cấp, mã số dự  án  ...., chứng nhận lần đầu ngày 04/12/2012, chứng nhận điều chỉnh lần thứ 02 ngày 17/10/2023

+

Khí Argon

7.325

+

Khí Nitơ

43.000

+

Khí H2

80.000

3.2.Công nghệ sản xuất của cơ sở

3.2.1.Công nghệ sản xuất hiện hữu

3.2.1.1. Công nghệ sản xuất Amoniac:

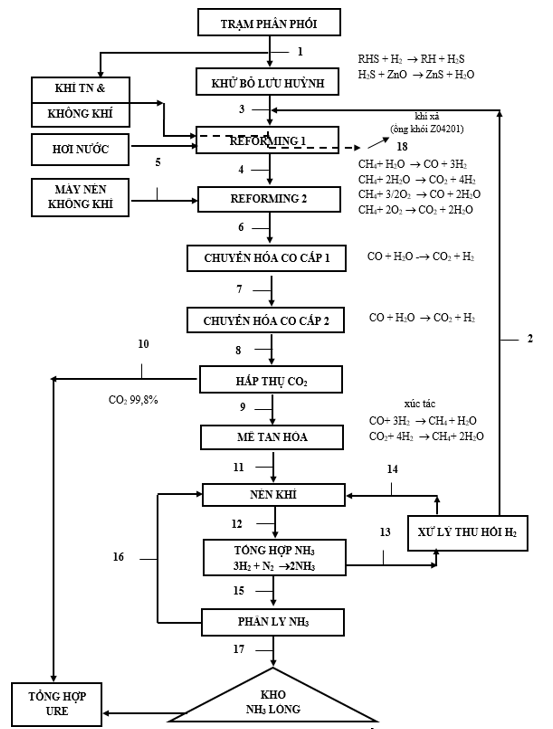
Sơ đồ quy trình công nghệ:

Hình 1.2. Quy trình công nghệ sản xuất Amoniac

Thuyết minh công nghệ:

Khí tự nhiên có áp suất 3,29 MPag và nhiệt độ 280C qua hệ thống gia nhiệt E04217, E04204-3, E04204-2 để gia nhiệt đến 2980C. Sau đó, dòng khí tự nhiên cùng với khí hydrogen thu hồi từ bộ nén khí tuần hoàn K04431, tiếp tục được gia nhiệt tại E204-1. Khi đạt được nhiệt độ 3500C, áp suất 3,82 MPag, hỗn hợp khí được đưa tới thiết bị hydro hóa R04201, với xúc tác “cobalt-molybdenum hydrogenation catalyst Topsoe TK-250”, xảy ra phản ứng sau:

RSH + H2 ↔ RH + H2S  (1) R1SSR2 + 3H2 ↔ R1H + R2H + 2 H2S (2) R1SR2 + 2 H2 ↔ R1H + R2H + H2S  (3)

Khí tự nhiên đã hydro hóa sau khi ra khỏi R04201 được đưa tới thiết bị hấp thụ sulfur R-04202A/B với chất xúc tác HTZ-3.

Hỗn hợp khí sau khi loại bỏ sulfur (hàm lượng lưu huỳnh nhỏ hơn 0,05ppm) sẽ được trộn với hơi nước, sau đó qua thiết bị E04201 để gia nhiệt lên đến nhiệt độ 5350C và được dẫn vào thiết bị reforming sơ cấp của F04201 tại áp suất 3,43 MPag. Tại đây, hỗn hợp khí được chuyển thành CO, CO2 và H2 dựa trên chất xúc tác RK-400 hay RK-400R và R-67-7H theo phản ứng sau:

CnH2n-2 + 2 H2O ↔ Cn-1H2n + CO + 3 H2, – Q (4) CH4 + 2 H2O ↔ CO2 + 4 H2 ,– Q (5) CO2 + H2 ↔ CO + H2O , – Q (6)

Khí công nghệ đi ra từ thiết bị F04201 với nhiệt độ 7830C, được trộn với không khí và đưa tới thiết bị reforming thứ cấp R04203. Tại đây hầu hết Mêtan được chuyển thành CO, CO2 và H2O dựa trên chất xúc tác RKS-2-7H và RKS-2 theo phản ứng:

CH4 + ½ O2 ↔ CO + 2 H2O (7)

CH4 + 2 O2 ↔ CO2 + 2 H2O (8)

Hỗn hợp khí rời khỏi R04203 có nhiệt độ rất cao khoảng 9530C, áp suất 3,06 MPag, với thành phần chính là H2 và N2, hàm lượng Mêtan còn rất thấp 0,6%, và lượng đáng kể CO 13,74% và CO2 8,45%. Hỗn hợp này được đưa qua hệ thống làm lạnh E04208 và E04209 nhằm hạ nhiệt độ xuống 3600C và dẫn vào thiết bị chuyển đổi khí CO nhiệt độ cao R04204 tại áp suất 3,02MPag. Tại đây, nhờ chất xúc tác SK-201-2, quá trình biến đổi CO sang CO2 ở điều kiện nhiệt độ cao xảy ra theo phản ứng sau:

CO + H2O ↔ CO2 + H(9)

Hỗn hợp khí sinh ra từ R04204 có nhiệt độ 4330C và áp suất 2,99 MPag tiếp tục đi qua hệ thống trao đổi nhiệt E04210 và E04212A/B nhằm làm lạnh dòng xuống 2050C, áp suất 2,9 MPag trước khi được dẫn tới thiết bị chuyển hóa CO ở nhiệt độ thấp R04205 với xúc tác là LSK và LK-853 FENCE.

Từ thiết bị R04205 hỗn hợp khí (gồm N2, H2, một ít CO, CH4, hơi nước, Ar, và 19,3% CO2) sau khi qua hệ thống thu hồi nhiệt, dòng được làm mát xuống còn 700C được đưa đến bồn tách khí S04304. Sau đó, khí được đưa đến thiết bị hấp thụ carbonic C04302 ở áp suất 2,75 MPag và nhiệt độ 700C.

Sau khi tách, hỗn hợp khí (chỉ còn chứa N2, H2, khoảng 0,37% CO, 0,05% CO2, khí trơ, CH4, hơi nước) qua hệ thống gia nhiệt lên đến 3000C và tại áp suất 2,66 Mpag trước khi đến thiết bị Mêtan hóa R04301, tại đây với xúc tác PK-7R khí CO2 và CO còn lại sẽ được chuyển thành CH4 theo phản ứng sau:

CO + 3 H2 ↔ CH4 + H2O (10)

CO2 + 4 H2 ↔ CH4 + 2H2O (11)

Khí đi ra từ thiết bị Mêtan hóa R04301 (chủ yếu là N2, H2, (CO+CO2) <10 ppm, khí trơ, HC, một ít hơi nước) được làm nguội và đưa vào bộ tách khí cuối cùng S04311. Hỗn hợp khí sinh ra từ bộ tách khí là khí có thành phần tổng hợp (ngoài H2 và N2, nó còn chứa Ar và CH4 chiếm khoảng 1,3% thể tích) sẽ được dẫn tới khu vực tổng hợp NH3.

Dòng khí tổng hợp tách ra từ bộ tách khí S04311 được trộn với hydro thu được từ quá trình thu hồi khí hydro PK04560 với tỉ lệ phân tử lượng của hydro (H2:N2) là 3:1. Hỗn hợp khí sau khi hòa trộn được nén bởi thiết bị nén khí K04431 và làm lạnh để loại bỏ hơi nước tại thiết bị S04431 trước khi luân chuyển về thiết bị nén khí K04431. Dòng hỗn hợp sau khi ra khỏi máy nén K04431 lần lượt qua bộ làm lạnh thứ hai E04432 và thiết bị nén khí để tăng áp suất dòng hỗn hợp khí lên đến 13,83 MPag. Dòng quá trình tiếp tục được gia nhiệt lên đến 2540C và tại áp suất 2,73 MPag hỗn hợp khí được dẫn vào thiết bị tổng hợp Amoniac R04501, dựa trên chất xúc tác KM1R hay KM1 theo phản ứng sau : 3 H2 + N2 ↔ 2 NH3                            (12)

Hỗn hợp khí đi ra từ tháp tổng hợp (17,1% NH3, 55,42% H2) ở nhiệt độ 4410C được làm lạnh theo từng bước, qua các thiết bị trao đổi nhiệt E04501, E04502, E04503, E04504, E04505, bộ làm lạnh thứ nhất E04506, thiết bị trao đổi nhiệt E04507 và cuối cùng bộ làm lạnh thứ 2 E04208 để hạ nhiệt độ xuống -50C.

Sản phẩm Amoniac lỏng sẽ bị loại bỏ khỏi dòng nhiên liệu trong thiết bị tách S04501 với hàm lượng amoniac khoảng 99,3% và đưa đến bình giảm áp S04502, nơi áp suất được giảm xuống 2,55 MPag. Dòng khí tách ra từ bình S04501 sẽ bị dẫn tới hệ thống hồi lưu dòng khí nguyên liệu về thiết bị tổng hợp amoniac thông qua bộ làm lạnh thứ hai, bộ làm lạnh thứ nhất và cuối cùng qua bộ trao đổi nhiệt nóng đến tháp tổng hợp amoniac nhờ máy nén tuần hoàn, là một phần của máy nén khí tổng hợp (K04431).

Amoniac lỏng thu được từ bình S04502 được trộn với dòng Amoniac thu hồi từ thiết bị chưng cất C04553, thu được dung dịch NH3 với hàm lượng 99,8%. Dòng lưu chất này một phần được dẫn vào thiết bị tách S04503, một phần được dẫn qua thiết bị trao đổi nhiệt E04512 để nâng nhiệt độ lên 250C, sau đó được đưa đến cung cấp cho việc sản xuất Ure với hàm lượng 99,8% và nhiệt độ 250C. Tại S04503, amoniac bốc hơi tới máy nén tăng cường K04451, máy nén K04441 và đi vào hệ thống làm lạnh (E04506, E04509, E04508, E04514, E04511). Dòng Amoniac lỏng đã được tách khí thu được từ bình tách S04503 được bơm P04501 A/B bơm về bồn chứa Amoniac với hàm lượng khoảng 100%, nhiệt độ -330C.

Dòng khí từ bình tách S04502, S04505 với hàm lượng NH3 khoảng 16,25% sẽ được dẫn vào tháp hấp thụ khí C04552 thuộc hệ thống thu hồi Amoniac. Khí từ bình tách S04514 của cụm tổng hợp amoniac với hàm lượng H2 64,09% được dẫn vào tháp hấp thụ khí phóng không C04551. Dòng sản phẩm thu được từ đáy của hai tháp trên được dẫn vào tháp chưng cất NH3 C04553. Dòng sản phẩm NH3 lỏng thu được ở đỉnh với hàm lượng 99,87% được hòa trộn cùng với dòng ra bình S04502. Khí thu được từ tháp C04551 với hàm lượng hydro khoảng 66,9% sẽ được dẫn tới hệ thống thu hồi hydro PK04560. Một phần hỗn hợp khí có lượng hydro cao (khoảng 96,75% thể tích) từ bình PK04560 sẽ được dẫn ngược trở lại bình nén tổng hợp K04431 để làm khí dự trữ cho quá trình sản xuất Amoniac. Một phần hỗn hợp khí nghèo H2 sẽ được dẫn ngược lại và hòa trộn với dòng khí đi ra từ C04552 với hàm lượng 24,6% được dẫn đến thiết bị F04201.

Một số hình ảnh thiết bị của dự án:

>>> XEM THÊM: Hồ sơ xin giấy phép môi trường cho dự án đầu tư xây dựng mỏ khai thác đá

GỌI NGAY – 0903649782 - 028 35146426

CÔNG TY CỔ PHẦN TƯ VẤN ĐẦU TƯ & THIẾT KẾ XÂY DỰNG MINH PHƯƠNG 
 
Địa chỉ: 28B Mai Thị Lựu - Khu phố 7, Phường Tân Định, TP.HCM
Hotline:  028 3514 6426 - 0903 649 782 
Email:  nguyenthanhmp156@gmail.com

 

Bình luận (0)

Gửi bình luận của bạn

Captcha
90Phut TV CakhiaTV xoilac xoilac tv Cakhia TV 90phut TV VeboTV Xoilac TV