Hồ sơ đề xuất cấp giấy phép môi trường nhà máy sản giày dép

Hồ sơ đề xuất cấp giấy phép môi trường nhà máy sản giày dép công suất 4.000.000 đôi/năm; Đế giày, dép công suất 2.184.000 đôi/năm; Simili (giả da) công suất 5.000.000 m/năm”; khuôn công suất 140 bộ/năm

Ngày đăng: 06-11-2025

161 lượt xem

MỤC LỤC............................................................................................. 1

DANH MỤC CÁC TỪ VIẾT TẮT VÀ CÁC KÝ HIỆU VIẾT TẮT..... 4

DANH MỤC CÁC BẢNG...................................................................... 5

DANH MỤC CÁC HÌNH........................................................................ 7

THÔNG TIN CHUNG VỀ CƠ SỞ........................................................... 8

1.1.  Tên chủ cơ sở......................................................................................... 8

1.2.  Tên cơ sở.................................................................................................. 8

1.3.  Công suất, công nghệ, sản phẩm sản xuất của cơ sở.............................. 9

1.3.1.   Công suất hoạt động của cơ sở...................................................... 9

1.3.2.   Công nghệ sản xuất của cơ sở.................................................. 12

1.3.3.   Sản phẩm của cơ sở:...................................................................... 20

1.4.  Nguyên liệu, nhiên liệu, vật liệu, điện năng, hóa chất sử dụng, nguồn cung cấp điện, nước của cơ sở... 21

1.4.1.   Nhu cầu sử dụng nguyên liệu cho sản xuất.......................................... 21

1.4.2.   Các máy móc, thiết bị lắp đặt............................................................. 24

1.4.3.   Nhu cầu sử dụng điện............................................................................ 26

1.4.4.   Nhu cầu sử dụng nước........................................................................ 26

1.5.  Các thông tin khác liên quan đến cơ sở.................................................. 28

1.5.1.   Vị trí địa lý của cơ sở......................................................................... 28

1.5.2.   Các hạng mục công trình của cơ sở................................................... 29

SỰ PHÙ HỢP CỦA CƠ SỞ VỚI QUY HOẠCH, KHẢ NĂNG CHỊU TẢI CỦA MÔI TRƯỜNG..... 32

2.1.   Sự phù hợp của cơ sở với quy hoạch bảo vệ môi trường quốc gia, quy hoạch tỉnh, phân vùng môi trường.. 32

2.2.  Sự phù hợp của cơ sở đối với khả năng chịu tải của môi trường.... 32

2.2.1.   Đặc điểm tự nhiên khu vực nguồn tiếp nhận nước thải............... 33

2.2.2.   Khả năng tiếp nhận nước thải của nguồn nước.............................. 34

KẾT QUẢ HOÀN THÀNH CÁC CÔNG TRÌNH, BIỆN PHÁP BẢO VỆ MÔI TRƯỜNG CỦA CƠ SỞ...... 36

3.1.  Công trình, biện pháp thoát nước mưa, thu gom và xử lý nước thải....... 36

3.1.1.   Thu gom, thoát nước mưa........................................................... 36

3.1.2.   Thu gom, thoát nước thải...................................................................... 37

3.1.2.1.   Nước thải sinh hoạt từ khu nhà vệ sinh.................................................. 37

3.1.2.2.   Nước thải từ quá trình vệ sinh nhà bếp............................................... 37

3.1.2.3.   Nước thải sản xuất từ hệ thống xử lý buồng sơn màng nước và hệ thống xử lý khí thải lò hơi... 37

3.1.3.   Xử lý nước thải................................................................................. 38

3.1.3.1.   Đối với nước thải sinh hoạt........................................................... 38

3.1.3.2.   Nước thải từ quá trình vệ sinh nhà bếp......................................... 40

3.1.3.3.   Nước thải từ hệ thống xử lý khí thải lò hơi, từ hệ thống xử lý buồng sơn màng nước... 40

3.2.  Công trình, biện pháp xử lý bụi, khí thải.......................................... 47

3.2.1.   Nguồn phát sinh bụi, khí thải tại cơ sở................................................ 47

3.2.2.   Biện pháp giảm thiểu bụi, khí thải tại cơ sở................................... 55

3.3.  Công trình, biện pháp lưu giữ, xử lý chất thải rắn thông thường........ 64

3.3.1.   Đối với chất thải sinh hoạt..................................................................... 64

3.3.2.   Đối với chất thải công nghiệp thông thường............................... 65

3.4.  Công trình, biện pháp lưu giữ, xử lý chất thải nguy hại................ 67

3.5.  Công trình, biện pháp giảm thiểu tiếng ồn, độ rung.......................... 69

3.6.  Phương án phòng ngừa, ứng phó sự cố môi trường............................. 70

3.6.1.   Biện pháp phòng ngừa, ứng phó sự cố môi trường đối với nước thải....... 71

3.6.2.   Biện pháp phòng ngừa, ứng phó sự cố môi trường đối với khí thải.............. 73

3.7.  Công trình, biện pháp bảo vệ môi trường khác..................... 78

3.7.1.   Biện pháp phòng ngừa sự cố cháy nổ............................................... 78

3.7.2.   Phương án phòng ngừa và ứng phó sự cố an toàn lao động................. 81

3.7.3.   Biện pháp phòng ngừa và ứng phó sự cố rò rỉ. tràn đổ hóa chất............. 82

3.8.   Các nội dung thay đổi so với quyết định phê duyệt kết quả thẩm định báo cáo đánh giá tác động môi trường:..... 85

NỘI DUNG ĐỀ NGHỊ CẤP GIẤY PHÉP MÔI TRƯỜNG........................... 87

4.1.  Nội dung đề nghị cấp phép đối với nước thải...................................... 87

4.1.1.   Nội dung cấp phép xả nước thải.......................................................... 87

4.1.2.   Yêu cầu bảo vệ môi trường đối với thu gom, xử lý nước thải................... 87

4.1.2.1.   Công trình, biện pháp thu gom, xử lý nước thải và hệ thống, thiết bị quan trắc nước thải tự động, liên tục (nếu có)..... 89

4.1.2.2.   Kế hoạch vận hành thử nghiệm........................................................ 90

4.2.  Nội dung đề nghị cấp phép đối với khí thải................................................ 92

4.2.1.   Nguồn phát sinh khí thải..................................................................... 92

4.2.2.   Dòng khí thải, vị trí xả thải:................................................................. 92

4.2.2.   Yêu cầu bảo vệ môi trường đối với thu gom, xử lý khí thải.................. 94

4.2.2.1.    Công trình, biện pháp thu gom, xử lý khí thải và hệ thống, thiết bị quan trắc khí thải tự động, liên tục (nếu có)....... 94

4.2.2.2.   Kế hoạch vận hành thử nghiệm......................................................... 95

4.3.  Nội dung đề nghị cấp phép đối với tiếng ồn, độ rung............................. 96

4.4.  Nội dung đề nghị cấp phép về chất thải rắn............................................... 97

4.4.1.   Khối lượng, chủng loại chất thải phát sinh.................................................. 97

4.4.2.   Yêu cầu bảo vệ môi trường đối với việc lưu giữ chất thải rắn................. 99

KẾT QUẢ QUAN TRẮC MÔI TRƯỜNG CỦA CƠ SỞ................................. 100

5.1.  Đối với nước thải........................................................................................ 100

5.2.  Đối với khí thải, không khí xung quanh........................................... 101

CHƯƠNG TRÌNH QUAN TRẮC MÔI TRƯỜNG CỦA CƠ SỞ....................... 102

6.1.  Kế hoạch vận hành thử nghiệm công trình xử lý chất thải......................... 102

6.1.1.   Thời gian dự kiến vận hành thử nghiệm..................................................... 102

6.1.2.    Kế hoạch quan trắc chất thải, đánh giá hiệu quả xử lý của các công trình, thiết bị xử lý chất thải..... 102

6.1.3.   Tổ chức có đủ điều kiện hoạt động dịch vụ quan trắc môi trường dự kiến phối hợp để thực hiện kế hoạch... 103

6.2.  Chương trình quan trắc chất thải.............................................. 103

6.2.1.   Quan trắc môi trường khí thải........................................ 103

6.2.2.   Quan trắc môi trường nước thải................................................... 104

6.2.2.   Chương trình quan trắc tự động, liên tục chất thải..................... 104

6.2.3.   Kinh phí thực hiện quan trắc môi trường hàng năm............................ 104

KẾT QUẢ KIỂM TRA, THANH TRA VỀ BẢO VỆ MÔI TRƯỜNG ĐỐI VỚI CƠ SỞ......... 105

CAM KẾT CỦA CHỦ CƠ SỞ................................................. 106

PHỤ LỤC ĐÍNH KÈM BÁO CÁO........................... 109

CHƯƠNG I

THÔNG TIN CHUNG VỀ CƠ SỞ

1.1. Tên chủ cơ sở

CÔNG TY CỔ PHẦN ĐẦU TƯ VÀ PHÁT TRIỂN ....

- Địa chỉ văn phòng: .... Huỳnh Văn Bánh, Phường 15, quận Phú Nhuận, Tp.HCM.

- Người đại diện theo pháp luật: Ông .......

- Chức vụ: Tổng Giám Đốc.

- Điện thoại:....

- Giấy phép đăng ký doanh nghiệp số .... đăng ký lần đầu ngày 02/10/2010, đăng ký thay đổi lần thứ 01 ngày 17/01/2013.

1.2.Tên cơ sở

“Nhà máy sản xuất giày, dép công suất 4.000.000 đôi/năm; Đế giày, dép công suất 2.184.000 đôi/năm; Simili (giả da) công suất 5.000.000 m/năm”; khuôn công suất 140 bộ/năm”

- Địa điểm thực hiện cơ sở: ....Xóm Gốc, QL51, xã Long Thành, tỉnh Đồng Nai.

- Giấy phép đăng ký hoạt động chi nhánh số .... đăng ký lần đầu ngày 08/09/1998, đăng ký thay đổi lần thứ 03 ngày 09/11/2010.

- Phiếu xác nhận bản đăng ký đạt tiêu chuẩn môi trường số 241/QLMT ngày 17/06/1998 của Sở Khoa học Công nghệ và Môi trường cấp cho dự án: Nhà máy sản xuất giày dép – Công ty TNHH TM DV SX .

- Phiếu xác nhận bản đăng ký đạt tiêu chuẩn môi trường số 813/PXN-KHCNMT ngày 20/10/1999 của Sở Khoa học Công nghệ và Môi trường cấp cho dự án đầu tư mở rộng xưởng sản xuất da và giả da.

- Giấy chứng nhận quyền sử dụng đất quyền sở hữu nhà ở và tài sản gắn liền với đất số ...... do Sở Tài nguyên và Môi trường Đồng Nai cấp ngày 03/4/2011.

- Giấy chứng nhận thẩm định thiết kế và thiết bị phòng cháy chữa cháy số 42/PC23 ngày 07/08/1998 do Công an tỉnh Đồng Nai cấp.

- Giấy chứng nhận thẩm duyệt thiết kế về phòng cháy và chữa cháy số 02/TD- PCCC ngày 04/01/2021 do Công an tỉnh Đồng Nai cấp.

- Giấy phép xây dựng số 182/GPXD ngày 13/11/1998.

- Giấy phép khai thác, sử dụng nước dưới đất số 83/GP-UBND ngày 28/04/2022 do UBND tỉnh Đồng Nai cấp, thời hạn giấy phép 3 năm.

- Sổ đăng ký chủ nguồn thải Chất thải nguy hại, mã số QLCTNH 75.001563.T (cấp lần 2), số 690/SĐK-STNMT ngày 19/12/2011 do Sở Tài nguyên và Môi trường tỉnh Đồng Nai cấp.

- Quy mô của cơ sở: Vốn đầu tư của cơ sở là 156.000.000.000 VNĐ. Quy mô cơ sở (phân loại tiêu chí quy định của pháp luật về đầu tư công): Cở sở nhóm B (Theo khoản 3 Điều 10, Luật đầu tư công số 58/2024/QH15 ngày 29/11/2024 và Nghị định số 05/2025/NĐ-CP ngày 06/01/2025 của Chính phủ).

- Yếu tố nhạy cảm về môi trường theo quy định tại khoản 6 Điều 1 Nghị định số 05/2025/NĐ-CP ngày 06/01/2025 của Chính phủ: cơ sở thuộc loại hình sản xuất, kinh doanh, dịch vụ có nguy cơ ô nhiễm môi trường quy định tại Phụ lục IV ban hành kèm theo Nghị định này có địa điểm thực hiện nằm trên đô thị loại III theo quy định của pháp luật về phân loại đô thị. Cơ sở có xả nước thải vào nguồn tiếp nhận là sông Thị Vải (mương thoát nước hiện hữu à rạch suối Tre à sông Thị Vải); có phát sinh bụi, khí thải xả ra môi trường phải được xử lý.

- Loại hình sản xuất, kinh doanh, dịch vụ: Sản xuất giày, dép, giả da và đồ nhựa.

- Phân nhóm dự án đầu tư: Cơ sở thuộc Danh mục các dự án đầu tư Nhóm II có nguy cơ tác động xấu đến môi trường quy định tại khoản 4 Điều 28 Luật Bảo vệ môi trường theo quy định tại Mục I.3 Phụ lục IV ban hành kèm theo Nghị định số 05/2025/NĐ-CP ngày 06/01/2025 của Chính Phủ.

- Theo quy định tại khoản 2 Điều 39 và khoản 4 Điều 41 Luật Bảo vệ môi trường số 72/2022/QH14, Cơ sở thuộc đối tượng phải có giấy phép môi trường và thẩm quyền cấp giấy phép môi trường là Ủy ban nhân dân cấp tỉnh. Nội dung báo cáo được trình bày theo mẫu quy định tại Phụ lục X Nghị định 05/2025/NĐ-CP ngày 06/01/2025 của Chính Phủ - mẫu báo cáo đề xuất cấp, cấp lại giấy phép môi trường của cơ sở đang hoạt động.

1.3.Công suất, công nghệ, sản phẩm sản xuất của cơ sở

1.3.1.Công suất hoạt động của cơ sở

Bảng 1.1. Công suất của các sản phẩm của cơ sở

 

TT

 

Tên sản phẩm

Công suất hiện tại

Công suất xin cấp GPMT

Năm 2023

Năm 2024

1

Giày, dép (bao gồm giày,

dép EVA và giày, dép vải

4.000.000

4.000.000

4.000.000 đôi/năm

2

Đế PU

2.184.000

2.184.000

2.184.000 đôi/năm

3

Simili (giả da)

5.000.000

5.000.000

5.000.000 m/năm

4

Khuôn mẫu

80

120

140 bộ/năm

(Nguồn: Công ty CP Đầu tư và Phát triển ..)

Hình 1.1. Hình ảnh các sản phẩm của cơ sở

1.3.2.Công nghệ sản xuất của cơ sở

a.Quy trình sản xuất giày, dép

a.1. Quy trình sản xuất giày, dép EVA

Để sản xuất ra được sản phẩm giày, dép EVA, Công ty có quy trình tạo ra hạt nhựa để phù hợp vơi từng đơn hàng bằng cách trộn hạt nhựa nguyên sinh và các phụ gia khác. Sản phẩm từ quá trình tạo hạt nhựa được công ty sử dụng làm nguồn nguyên liệu để sản xuất giày, dép EVA. Công ty cam kết không có hoạt động kinh doanh thương mại từ sản phẩm này. Quy trình tạo hạt cụ thể như sau:

Quy trình tạo hạt nhựa EVA:

Hình 1.2. Quy trình tạo hạt nhựa (EVA)

Thuyết minh quy trình tạo hạt nhựa

Với nguyên liệu đầu vào là hạt nhựa và phụ gia đưa vào máy trộn.

Khối lượng nguyên liệu phù hợp sẽ được đưa vào máy trộn có tác dụng đảo đều nguyên liệu đầu vào, đồng thời tại đây được lắp thiết bị lọc túi vải tự động nhằm xử lý lượng bụi phát sinh trong quá trình trộn, lượng bụi này được thu gom và tái sử dụng lại cho quá trình sản xuất. Sau đó, tiếp tục theo dây chuyền qua cán liệu quá trình cán liệu nhằm làm nóng chảy tạo thành tấm lớn phục vụ quá trình sản xuất. Công đoạn từ máy trộn sang máy cán được thực hiện tự động, chỉ khi bỏ nguyên liệu đầu vào máy trộn được thực hiện thủ công. Tại đây máy cán liệu được điều chỉnh với nhiệt độ 75℃.

Tiếp tục, nguyên liệu sau khi được cán sẽ cho vào máy tạo hạt và hình thành hạt nhựa. Tiếp tục theo dây chuyền qua máy sấy. Sau khi sấy xong hệ thống tự động dẫn vào bồn trộn nhằm trộn đều các hạt nhựa với nhau khoảng 45 phút sau đó đảo ngược vòng trộn và cho ra bao 25 kg nhập kho chuẩn bị cho quá trình sản xuất giày, dép EVA.

Quy trình sản xuất giày, dép EVA

Hình 1.3. Sơ đồ quy trình sản xuất giày, dép EVA

Thuyết minh quy trình:

Nguyên liệu (hạt nhựa) được gia nhiệt trong buồng kín để nguyên liệu đạt điều kiện thích hợp cho việc đóng rắn khi tác động với chất xúc tác. Nguyên liệu sau khi gia nhiệt sẽ được rót vào khuôn đã được làm sạch. Sau đó khuôn sẽ được gia nhiệt để định hình và ổn định sản phẩm đây là công đoạn đóng đế (đế giày). Đế giày sau khi hoàn thành sẽ được tháo ra khỏi khuôn bằng tay. Sản phẩm tháo khuôn sẽ được cắt ba vớ, ranh bìa, các chất thải này được cơ sở thu gom và giao cho đơn vị có chức năng xử lý. Sản phẩm sau khi ranh bìa sẽ được đóng gói và chờ xuất xưởng. Các sản phẩm lỗi sẽ được thu gom và xử lý như CTRCNTT.

a.2. Quy trình sản xuất giày, dép vải

Hình 1.4. Quy trình sản xuất giày, dép vải

Thuyết minh quy trình:

May quai

Nguyên liệu

- Các loại vải: kaki jean, vải tấm, CP cambrella, Si giả da,...

- Phụ liệu: chỉ may, dây rút, nút tán Ôdê, dây giày, keo dán,..

Cắt, dập các chi tiết Quai

- Dựa vào quy trình công nghệ của từng mã sản phẩm để cắt, dập các chi tiết quai như: thân trong - ngoài, lót trong - ngoài, mũi, lưỡi gà, nẹp Ôdê, hậu, lót hậu,…

- Việc cắt, dập các chi tiết quai phải đảm bảo đúng quy cách, chất lượng, số lượng. Lắp ráp và may hoàn chỉnh

- Dựa vào quy trinh công nghệ của từng mã sản phẩm để lắp ráp các chi tiết và may hoàn chỉnh quai theo các bước:

- Cán dán vải và CP cambrella các chi tiết: thân, mũi, lưỡi gà, nẹp Ôdê, đắp hậu,…(nếu có).

- May viền nẹp Ôdê, mũi.

- May các trang trí lên thân (nếu có), may nẹp Ôdê lên thân.

- May ziczac thân trong với thân ngoài, may viền thân.

- May đắp hậu lên thân, đục lỗ Ôdê và tán nút Ôdê vào nẹp Ôdê.

- May đính lưỡi gà vào mũi, may viền lưỡi gà và may đính lưỡi gà vào thân.

- Các công đoạn khác (nếu có).

- Và may dây rút chân gò.

Việc lắp ráp các chi tiết và may hoàn chỉnh Quai phải đảm bảo đúng quy cách, chất lượng, số lượng.

Phun đế

Nguyên liệu: nguyên liệu tổng hợp TPR hoặc PVC.

Chuẩn bị sản xuất

Máy móc thiết bị, công dụng cụ

- Kiểm tra và vệ sinh sạch sẽ tất cả các máy móc thiết bị, công cụ và dụng cụ.

- Đóng cầu dao nguồn điện: cầu dao tổng, các cầu dao tủ điện của những máy cần chạy.

- Khởi động máy móc thiết bị theo tuần tự:

+ Bộ điều khiển (tủ điện).

+ Máy sấy nguyên liệu (nhiệt độ 60 - 75oC).

+ Máy giải nhiệt dầu và khuôn (20 - 30oC).

+ Nhiệt độ dầu thuỷ lực (50 - 60oC). Lắp ráp khuôn lên máy

- Mở 2 mặt hông của khuôn, mặt đế và 2 chân khuôn.

- Mở ốc vít định vị trên giá lên xuống khuôn (dỡ bỏ khuôn cũ, lắp ráp khuôn mới).

- Lắp mặt trên của mũ quai (nếu khuôn có mũ).

- Điều chỉnh độ dày, mỏng và lượng keo cho phù hợp với thông số cài đặt. Cài đặt thông số kỹ thuật vào bộ điều khiển

- Nhiệt độ đầu cảo (4 vùng) đối với từng loại nguyên liệu TPR hoặc PVC

Nguyên liệu

Vùng 1

Vùng 2

Vùng 3

Vùng 4

TPR

200-220oC

200-220oC

200-215oC

190-215oC

PVC

190-200oC

180-190oC

180-190oC

175-185oC

- Thời gian bơm nguyên liệu (Injection time): 10 -15 giây.

- Áp lực bảo áp (Holding pressure): 50-70 kg/cm2.

- Thời gian bảo áp: 1 - 10 giây

- Thời gian chờ lấy nguyên liệu (Feed delay ): 1 -10 giây.

- Áp lực lấy keo (Feed pressure): 90-99 kg/cm2.

- Áp lực bơm keo (Injection pressure): 80-99 kg/cm2).

- Cài đặt trọng lượng (số gam), áp lực cho riêng từng mã sản phẩm (với nhiều cỡ số).

- Tủ sấy mũ quai (các trạm): 60-75oC.

Tiến hành phun đế

- Lấy mũ Quai từ tủ sấy và lồng quai giày vào phom theo đúng cỡ số, số lượng.

- Rút chặt dây rút để mũ giày ôm vào phom, đồng thời gài 2 cạnh hông vào chốt định vị trên phom và cắt bỏ phần dây còn dư.

- Dùng búa (nhựa hoặc cao su) gò mí nối của mũ quai sát chặt với phom và xoay chân khuôn vào ví trí khuôn để phun đế

- Thực hiện phun đế.

- Lấy giày ra khỏi khuôn.

- Cắt rìa, vệ sinh sạch sẽ.

Dán tem, dán nhiễu

- Thoa hóa chất xử lý đối với loại đế TPR hoặc (231-2) đối với đế PVC vào nơi cần dán đúng kỹ thuật và đúng vị trí. Để khô tự nhiên hoặc sấy ở nhiệt độ 40-45oC.

- Thoa hóa chất xử lý (231-2) vào bề mặt tem trang trí PVC, nhiễu PVC vào nơi cần dán đúng kỹ thuật và đúng vị trí. Để khô tự nhiên hoặc sấy ở nhiệt độ 40-45oC.

- Thoa keo 6600 (đã pha 3-5% chất đóng rắn ARF-1000) lên bề mặt cần dán của đế, tem, nhiễu,… đúng vị trí, kỹ thuật và không được lem keo. Sấy khô ở nhiệt độ 50- 70oC.

- Dán tem, nhiễu vào đế đúng kỹ thuật, đúng vị trí và ép dính để đảm bảo độ bám dính.

Gắn lót lòng, xỏ dây Lót lòng

- Lót lòng được ép bằng nỉ cào, EVA tấm và Texsol.

- Cắt dập lót lòng đúng quy cách và kỹ thuật.

- In lụa lên lót lòng các “mã hiệu” nếu có.

- Gắn lót lòng vào đế đúng quy cách và kỹ thuật.

Xỏ dây

- Dựa vào QTCN để gắn dây giày cho đúng quy cách, kỹ thuật.

- Gắn dây phải đẹp, cột dây đều.

Vê sinh, kiểm tra

-Dùng dụng cụ, vật dụng, hóa chất thích hợp để vệ sinh sản phẩm.

- Vệ sinh sản phẩm sạch sẽ và đảm bảo sản phẩm không bị trầy xước hoặc hư hỏng.

- Chuyển sản phẩm vào rổ chờ kiểm tra.

- Nhân viên KCS dựa vào “mẫu đối, quy cách thành phẩm” để kiểm tra chất lượng sản phẩm.

- Việc kiểm tra phải phân loại được sản phẩm đạt, sản phẩm phế sẽ được xử lý như CTRCNTT.

Đóng gói

- Vệ sinh sạch sẽ bao bì cần đóng gói.

- Đóng gói đúng quy cách bao bì, đúng quy cách sản phẩm và đúng số lượng.

- Ghi mã sản phẩm, số lượng, ngày kiểm tra,… vào tem, rồi gắn tem vào bao bì vừa đóng gói.

- Chuyển các bao bì vừa đóng gói vào khu vực chờ nhập kho.

Nhập kho

- Lập “Bảng kê chi tiết nhập, xuất hàng” (F05/P8.5.4) theo mã sản phẩm, cỡ số, màu sắc.

- Chuyển các bao bì đã đóng gói vào kho thành phẩm hoặc giao cho khách hàng.

b.Quy trình sản xuất đế giày PU

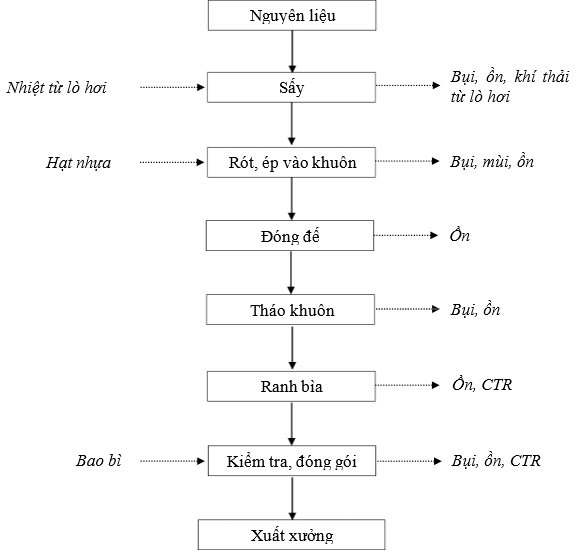
Hình 1.5. Quy trình sản xuất đế giày PU

Thuyết minh quy trình:

Nguyên liệu được gia nhiệt trong buồng kín để nguyên liệu đạt điều kiện thích hợp cho việc đóng rắn khi tác động với chất xúc tác. Nguyên liệu sau khi gia nhiệt sẽ được rót vào khuôn đã được làm sạch. Sau đó khuôn sẽ được gia nhiệt để định hình và ổn định sản phẩm đây là công đoạn đóng đế (đế giày). Đế giày sau khi hoàn thành sẽ được tháo ra khỏi khuôn bằng tay. Sản phẩm tháo khuôn sẽ được cắt ba vớ rồi chuyển qua xưởng sơn màu. Quá trình sơn được thực hiện 80% là sơn nhúng tự động bằng băng chuyền khép kín, 20% bằng súng phun sơn, sơn sử dụng là sơn gốc nước (MSDS được đính kèm ở phần phụ lục, tại cơ sở có 02 thiết bị nhưng bố trí 08 khu vực sơn, mỗi khu vực sơn đều có hệ thống lọc bụi sơn bằng màng nước. Sản phẩm sơn xong được sấy khô tự động trong buồng sấy, sau đó được xếp lên giá sắt đặt ở chỗ thoáng để khô tự nhiên. Đến đây sản phẩm đã được hoàn tất sẽ được kiểm tra và đóng gói chờ xuất xưởng. Đối với các sản phẩm bị lỗi sẽ được thu gom và xử lý như CTRCNTT.

c. Quy trình sản xuất simili (giả da)

Quy trình sản xuất da, giả da (thành phẩm) (chuyền sản xuất giả da)

Hình 1.6. Quy trình sản xuất simili (giả da)

Thuyết minh quy trình

Thuyết minh quy trình công nghệ sản xuất da, giả da thành phẩm: các loại nguyên liệu được trộn theo tỷ lệ thích hợp. Hỗn hợp này được rót định lượng lên nền vải chạy trên băng chuyền, lần lượt qua các đầu cán, buồng nhiệt độ rồi hệ thống làm nguội. dây chuyền có 4 đầu cán, 4 buồng gia nhiệt và làm nguội 4 lần, nguồn nhiệt sử dụng từ lò hơi. Nhiệt độ hoạt động tại các buồng nhiệt lần lượt là: 70 – 130oC, 70 – 130oC, 70 – 90oC, 100 – 120oC. Sau đó sản phẩm được máy cuộn cuộn thành từng cuộn rồi đưa vào kho.

d.Quy trình sản xuất khuôn mẫu

Hình 1.7. Quy trình sản xuất, gia công khuôn mẫu

Thuyết minh công nghệ:

Lắp ráp khuôn Phay, bào, mài,..các mặt khuôn cho phẳng, nhẵn phù hợp với quy cách khuôn (chiều dài, rộng, cao). Khoan các lỗ trên khuôn để gắn chốt định vị khuôn, chốt chân không, tai bắt khuôn, ốc bắt khuôn,... đúng vị trí, đúng quy cách. Gắn các bạc (bằng đồng) vào các lỗ đã khoan để tránh làm vỡ khuôn khi gắn các chốt chân không, chốt định vị,... Chuẩn bị và kiểm tra tất cả các “linh kiện” rồi tiến hành lắp ráp khuôn theo đúng thứ tự, đúng quy cách, đúng vị trí để hoàn thành bộ khuôn. Chỉnh sửa sau khi lắp ráp xong tiến hành kiểm tra chỉnh sửa khuôn lần cuối về bề mặt phân cách, kiểm tra độ bóng, kiểm tra độ hở của nắp sau khi ráp khuôn hoàn chỉnh để tránh xì nguyên liệu ra ngoài. Chuyển các khuôn đã hoàn chỉnh cho các phân xưởng sản xuất (đế EVA, nhựa,.) để ép mẫu thử.

1.3.3.Sản phẩm của cơ sở:

 

TT

 

Tên sản phẩm

Công suất hiện tại

Công suất xin cấp GPMT

Năm 2023

Năm 2024

1

Giày, dép (bao gồm giày,

dép EVA và giày dép, vải)

4.000.000

4.000.000

4.000.000 đôi/năm

2

Đế PU

2.184.000

2.184.000

2.184.000 đôi/năm

3

Simili (giả da)

5.000.000

5.000.000

5.000.000 m/năm

4

Khuôn mẫu

80

120

140 bộ/năm

(Nguồn: Công ty CP Đầu tư và Phát triển ...)

1.4. Nguyên liệu, nhiên liệu, vật liệu, điện năng, hóa chất sử dụng, nguồn cung cấp điện, nước của cơ sở

1.4.1. Nhu cầu sử dụng nguyên liệu cho sản xuất

Bảng 1.2. Nhu cầu sử dụng nguyên liệu cho sản xuất của cơ sở

 

STT

Nguyên, nhiên liệu và hóa chất

Thành phần, tính

chất, công thức hóa học

Khối

lượng (tấn/năm)

Nguồn cung cấp

I.  Nhu cầu nguyên vật liệu, hóa chất để sản xuất giày, dép

Nhu cầu nguyên vật liệu, hóa chất để sản xuất giày, dép EVA

 

1

Nguyên liệu EVA: Hạt

nhựạ EVA 7360M , 7470M, 7780M

Ethylene Vinyl Acetate Copolymer

 

125

Công Ty Formosa

2

Hạt màu EVA

Dùng tạo hạt EVA

15

Công Ty

Guang Bang

 

3

Phụ Gia: Bột nở Oxit kẽm

Acid

 

Phụ gia tạo hạt EVA

 

12

Công ty Việt Siêu, Long Tín.

 

 

C3H8O2

 

 

 

 

C11H14O2

 

 

 

 

1,3-Propanediol,2-

 

 

4

Mực in hệ nước WPU-…

ethyl-

2(hydroxymethyl)-

0,003

Công Ty Trí

Năng

 

 

,polymer with

 

 

 

 

H2O

 

 

 

 

Pigment

 

 

5

Keo hệ nước NP-585

H2O

Polyurethane

0,005

Công Ty

Nanpao

Tổng cộng

152,008

 

Nhu cầu nguyên vật liệu, hóa chất dùng để tạo hạt

1

- AC3000F

 

C2H4N4O2

10,95

Chemicals & Laboratory

Equipment

2

- Axit Stearic (ST1837)

 

C18H36O2

4,36

Công Ty Wilmar

Oleochemical

3

- ZnO AB

ZnO

8,85

Công Ty

Hùng Việt

 

4

- Calcium Carbonate (Bột CACO3- MS6A):

CaCO3

MgO Fe2O3

SiO2 Độ PH

 

43,4

 

Công Ty Ngọc Thịnh

 

5

- Titanium Dioxide:

TiO2 Al2O3 SiO2

Water and Impurity

 

16,045

Công Ty Sichuan Lomon

Nhu cầu nguyên vật liệu, hóa chất để sản xuất giày, dép vải

1

Vải

Kaki, jean, vải tấm

0,5

Công ty Lực

quán

 

2

 

Phụ liệu

Chỉ may, dây rút, nút tán Ô dê, dây giày

 

0,03

Công ty Hưng Hiệp

Phát

3

Keo dán

Keo dán

0,002

Công Ty Trí

Năng

Tổng cộng

152,008

 

II. Nhu cầu nguyên vật liệu, hóa chất dùng để sản xuất đế PU

 

 

1

Polyurethane     Prepolymer JF-1012A/2084B/ 3001C JF 1096/ 2084/ 3001C

Nguyên liệu chính sản xuất Đế PU Polymeric glycol C2H6O2

Silicone surfactant

 

 

90,7

 

Công Ty Zhejiang Huafon

 

2

 

Sơn phun PU110, 102, 502

C6H10O C4H8O

Polyurethane Chất trợ

1.8

Công Ty HaoYu

 

3

 

Sơn nhúng SP-310, SP- 502,

C4H8O2 C4H8O

Polyurethane C8H11N3O3S

Pigment

 

5.1

 

Công Ty HaoYu

 

4

 

Mực in hệ nước WPU-…

C3H8O2 C11H14O2

1,3-Propanediol,2-

 

0,5

Công Ty Trí Năng

 

 

ethyl- 2(hydroxymethyl)-

,polymer with H2O

Pigment

 

 

III.      Nhu cầu nguyên vật liệu, hóa chất dùng để sản xuất simili (giả da)

 

 

1

Nguyên liệu si PU (polyester): ISU 169V, ISA-208V, SU Black 7810V,

SU White C2V…

Nguyên liệu chính đế cán bề mặt Giả Da Aromatic type Thermoplastic Polyurethane Resin C3H7NO

C4H8O

 

 

8,5

 

 

Nhà Máy ILSAM VN

 

2

PU-1673 White PU-2609A Black PU-3626 Yellow..

 

Màu sx Si PU

 

2,5

Công Ty HuiZhou NanZhang

Tổng cộng

11,0

 

IV. Nhu cầu nguyên vật liệu, hóa chất dùng để sản xuất khuôn mẫu

1

Phôi khuôn kim loại

-

1,0

-

2

Phôi khuôn gỗ

-

0,5

-

3

Keo trắng NPEL-128S

Bisphenol A Epoxy resin

1,6

Công Ty HuntsMan

 

 

4

 

 

RENGEL SW 404

Csi Bisphenol A-

(epichlorhydrin) epoxy resin Bisphenol F epoxy Resin

C10H18O4

 

 

0,59

 

 

Công Ty HuntsMan

V. Nhu cầu nhiên liệu, vật liệu khác

1

Củi

-

34

 

2

Bao bì

-

28,815

 

3

Thùng carton

-

30,270

 

4

Băng keo

-

5,346

 

VI.Nhu cầu hóa chất sử dụng dùng cho HTXL khí thải lò hơi

1

NaOH

-

0,18

 

VII.     Nhu cầu hóa chất sử dụng dùng cho HTXL nước thải

1

Mật rỉ đường

 

0,6

 

2

Men vi sinh hiếu khí

 

0,6

 

3

Clorine

NaClo

0,68

 

(Nguồn: Công ty CP Đầu tư và Phát triển ...)

>>> XEM THÊM: Báo cáo đánh giá tác động môi trường dự án nhà máy cán kéo thép xuất khẩu

GỌI NGAY – 0903649782 - 028 35146426

CÔNG TY CỔ PHẦN TƯ VẤN ĐẦU TƯ & THIẾT KẾ XÂY DỰNG MINH PHƯƠNG 
 
Địa chỉ: 28B Mai Thị Lựu - Khu phố 7, Phường Tân Định, TP.HCM
Hotline:  028 3514 6426 - 0903 649 782 
Email:  nguyenthanhmp156@gmail.com

 

Bình luận (0)

Gửi bình luận của bạn

Captcha
90Phut TV CakhiaTV xoilac xoilac tv Cakhia TV 90phut TV VeboTV Xoilac TV